LEMON Manuals: Even more car manuals for everyone: 1960-2025
Home >> Hyundai >> 2009 >> Entourage GLS >> Repair and Diagnosis (Single Page) >> Engine Performance >> Engine Control Systems >> Engine Control/Fuel System (G6DA - GSL 3.8) >> Gasoline Engine Control System >> Intake Air Temperature Sensor (IATS) >> Description >> Notes
April 5, 2026: LEMON Manuals is launched! Read the announcement.

Intake Air Temperature Sensor (IATS): Description: Notes

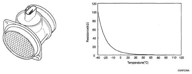
Fig 1: Identifying Intake Air Temperature Sensor (IATS)
G04884251Courtesy of HYUNDAI MOTOR CO.

Intake Air Temperature Sensor (IATS) is installed inside the Mass Air Flow Sensor (MAFS) and detects the intake air temperature. To calculate precise air quantity, correction of the air temperature is needed because air density varies according to the temperature. So the PCM uses not only MAFS signal but also IATS signal. This sensor has a Negative Temperature Coefficient (NTC) and its resistance is in inverse proportion to the temperature.