LEMON Manuals: Even more car manuals for everyone: 1960-2025
Home >> Hyundai >> 2009 >> Entourage GLS >> Repair and Diagnosis >> Body & Frame >> Door Locks >> Immobilizer Control System >> Immobilizer Control Unit >> Replacement
April 5, 2026: LEMON Manuals is launched! Read the announcement.

Immobilizer Control Unit: Replacement

  1. Disconnect the negative (-) battery terminal.
  2. Remove the crash pad (Refer to the CRASH PAD ).
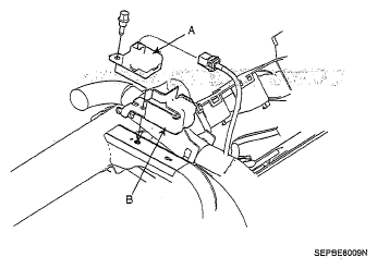
  3. Disconnect the 5P connector of the SMARTRA unit and then remove the SMARTRA unit (A) with bracket (B) located on the cowl cross bar after loosening the shear bolt.
    Fig 1: Identifying SMARTRA Unit With Bracket
    G05536120Courtesy of HYUNDAI MOTOR CO.
  4. Installation is the reverse of removal procedure.