LEMON Manuals: Even more car manuals for everyone: 1960-2025
Home >> Hyundai >> 2009 >> Entourage GLS >> Repair and Diagnosis >> Engine Performance >> Engine Control Systems >> Engine Control/Fuel System (G6DA - GSL 3.8) >> Fuel Delivery System >> Fuel Pressure Test
April 5, 2026: LEMON Manuals is launched! Read the announcement.

Fuel Pressure Test

  1. PREPARING 
    1. Remove the 2nd seat (s)

      (Refer to "REAR SEAT " in this SERVICE INFORMATION).

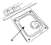
    2. Remove the Service Cover (A).
      Fig 1: Identifying Service Cover
      G05536056Courtesy of HYUNDAI MOTOR CO.
  2. RELEASE THE INTERNAL PRESSURE 
    1. Disconnect the fuel pump connector (A).
    2. Start the engine and wait until fuel in fuel line is exhausted.
    3. After the engine stalls, turn the ignition switch to OFF position and disconnect the negative (-) terminal from the battery.
      NOTE: Be sure to reduce the fuel pressure before disconnecting the fuel feed hose, otherwise fuel will spill out.
      Fig 2: Identifying Fuel Pump Connector
      G05536057Courtesy of HYUNDAI MOTOR CO.
  3. INSTALL THE SPECIAL SERVICE TOOL (SST) FOR MEASURING THE FUEL PRESSURE 
    1. Disconnect the fuel feed hose from the delivery pipe.
      CAUTION: Cover the hose connection with a shop towel to prevent splashing of fuel caused by residual pressure in the fuel line.
    2. Install the Fuel Pressure Gauge Adapter (09353-38000) between the delivery pipe and the fuel feed hose.
    3. Connect the Fuel Pressure Gauge Connector (09353-24000) to the Fuel Pressure Gauge Adapter (09353-38000).
    4. Connect the Fuel Pressure Gauge and Hose (09353-24100) to Fuel Pressure Gauge Connector (09353-24000).
    5. Connect the fuel feed hose to the Fuel Pressure Gauge Adapter (09353-38000).
      Fig 3: Connecting Fuel Pressure Gauge And Hose To Fuel Pressure Gauge Connector
      G05536058Courtesy of HYUNDAI MOTOR CO.
  4. INSPECT FUEL LEAKAGE ON CONNECTION 
    1. Connect the battery negative (-) terminal.
    2. Apply battery voltage to the fuel pump terminal and activate the fuel pump. With fuel pressure applied, check that there is no fuel leakage from the fuel pressure gauge or connection part.
  5. FUEL PRESSURE TEST 
    1. Disconnect the negative (-) terminal from the battery.
    2. Connect the fuel pump connector.
    3. Connect the battery negative (-) terminal.
    4. Start the engine and measure the fuel pressure at idle.

      Standard Value: 374 ~ 384 kpa (3.82 ~ 3.92 kgf/cm2 , 54.3 ~ 55.8 psi)

      • If the measured fuel pressure differs from the standard value, perform the necessary repairs using the table below.
        CONDITION POSSIBLE CAUSE

        Condition Probable Cause Suspected Area
        Fuel Pressure too low Clogged fuel filter Fuel filter
        Fuel leak on the fuel-pressure regulator that is assembled on fuel pump because of poor seating of the fuel-pressure regulator. Fuel Pressure Regulator
        Fuel Pressure too High Sticking fuel pressure regulator Fuel Pressure Regulator
    5. Stop the engine and check for a change in the fuel pressure gauge reading.

      After engine stops, the gauge reading should hold for about 5 minutes

      • Observing the declination of the fuel pressure when the gauge reading drops and perform the necessary repairs using the table below.
        CONDITION POSSIBLE CAUSE

        Condition Probable Cause Suspected Area
        Fuel pressure drops slowly after engine is stopped Injector leak Injector
        Fuel pressure drops immediately after engine is stopped The check valve within the fuel pump is open Fuel Pump
  6. RELEASE THE INTERNAL PRESSURE 
    1. Disconnect the fuel pump connector (A).
    2. Start the engine and wait until fuel in fuel line is exhausted.
    3. After the engine stalls, turn the ignition switch to OFF position and disconnect the negative (-) terminal from the battery.
      NOTE: Be sure to reduce the fuel pressure before disconnecting the fuel feed hose, otherwise fuel will spill out.
      Fig 4: Identifying Fuel Pump Connector
      G05536059Courtesy of HYUNDAI MOTOR CO.
  7. REMOVE THE SPECIAL SERVICE TOOL (SST) AND CONNECT THE FUEL LINE 
    1. Disconnect the Fuel Pressure Gauge and Hose (09353-24100) from the Fuel Pressure Gauge Connector (09353-24000).
    2. Disconnect the Fuel Pressure Gauge Connector (09353-24000) from the Fuel Pressure Gauge Adapter (09353-38000).
    3. Disconnect the fuel feed hose from the Fuel Pressure Gauge Adapter (09353-38000).
    4. Disconnect the Fuel Pressure Gauge Adapter (09353-38000) from the delivery pipe.
      CAUTION: Cover the hose connection with a shop towel to prevent splashing of fuel caused by residual pressure in the fuel line.
    5. Connect the fuel feed hose to the delivery pipe.
  8. INSPECT FUEL LEAKAGE ON CONNECTION 
    1. Connect the battery negative (-) terminal.
    2. Apply battery voltage to the fuel pump terminal and activate the fuel pump. With fuel pressure applied, check that there is no fuel leakage from the fuel pressure gauge or connection part.
    3. If the vehicle is normal, connect the fuel pump connector.