LEMON Manuals: Even more car manuals for everyone: 1960-2025
Home >> Hyundai >> 2009 >> Entourage GLS >> Repair and Diagnosis >> Engine Performance >> Engine Control Systems >> Engine Control/Fuel System (G6DA - GSL 3.8) >> Fuel Delivery System >> Fuel Tank Removal >> Notes
April 5, 2026: LEMON Manuals is launched! Read the announcement.

Fuel Tank Removal: Notes

  1. Preparation
    1. Remove the 2nd seat (s) (Refer to "REAR SEAT " in this SERVICE INFORMATION).
    2. Remove the Service Cover (A).
      Fig 1: Identifying Service Cover
      G05322256Courtesy of HYUNDAI MOTOR CO.
    3. Disconnect the Fuel Pump Connector (A).
      Fig 2: Identifying Fuel Pump Connector
      G05322257Courtesy of HYUNDAI MOTOR CO.
    4. Start the engine and wait until fuel in fuel line is exhausted.
    5. After the engine stalls, turn the ignition switch OFF.
  2. Disconnect the fuel pump connector (A) and the fuel tank pressure sensor connector (B).
    Fig 3: Identifying Fuel Pump Connector And Fuel Tank Pressure Sensor Connector
    G05536067Courtesy of HYUNDAI MOTOR CO.
  3. Lift the vehicle and support in with a jack.
    Fig 4: Lifting Vehicle And Support With Jack
    G05322264Courtesy of HYUNDAI MOTOR CO.
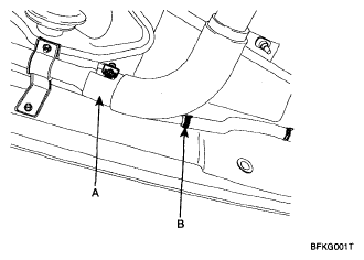
  4. Disconnect the fuel filler hose (A) and the leveling hose (B).
    Fig 5: Identifying Fuel Filler Hose And Leveling Hose
    G05322265Courtesy of HYUNDAI MOTOR CO.
  5. Disconnect the fuel feed quick connector (A) near canister.
    Fig 6: Identifying Fuel Feed Quick Connector
    G05322266Courtesy of HYUNDAI MOTOR CO.
  6. Remove the fuel tank band (A) by unscrewing the mounting bolts (B) and remove the fuel tank from the vehicle.
    Fig 7: Identifying Fuel Tank Band And Mounting Bolts
    G05322267Courtesy of HYUNDAI MOTOR CO.