LEMON Manuals: Even more car manuals for everyone: 1960-2025
Home >> Hyundai >> 2009 >> Entourage GLS >> Repair and Diagnosis >> Engine Performance >> Engine Control Systems >> Engine Control/Fuel System (G6DA - GSL 3.8) >> Gasoline Engine Control System >> Crankshaft Position Sensor (CKPS) >> Description >> Schematic Diagram
April 5, 2026: LEMON Manuals is launched! Read the announcement.

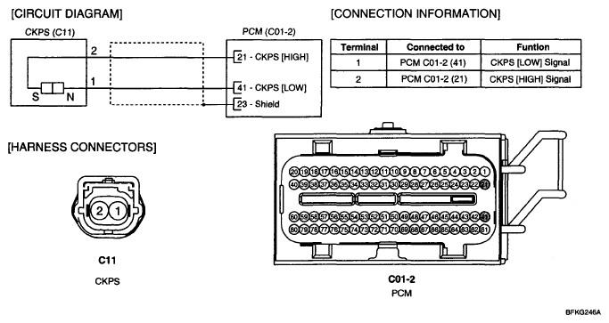
Schematic Diagram

Fig 1: Crankshaft Position Sensor (CKPS) - Schematic Diagram
G05321828Courtesy of HYUNDAI MOTOR CO.