LEMON Manuals: Even more car manuals for everyone: 1960-2025
Home >> Hyundai >> 2009 >> Santa Fe AWD V6-2.7L >> Repair and Diagnosis >> Heating and Air Conditioning >> Control Assembly >> Service and Repair >> Rear Control Panel >> Repair Procedures
April 5, 2026: LEMON Manuals is launched! Read the announcement.

Repair Procedures





Replacement

1. Remove the rear side trim.
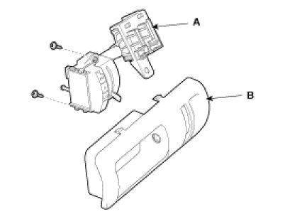
2. Loosen the mounting screw and then remove the rear blower controler(A) from the rear side trim.








3. Loosen the mounting screw and then remove the rear blower cintrol unit (A) from the air vant(B).




4. Installation is the reverse order of removal.