LEMON Manuals: Even more car manuals for everyone: 1960-2025
Home >> Hyundai >> 2009 >> Sonata SE, 2.4 C >> Repair and Diagnosis >> Engine Performance >> Engine Control Systems >> Engine Control System (Fuel System) - 2.4L >> Powertrain Control Module (PCM) >> Circuit diagram
April 5, 2026: LEMON Manuals is launched! Read the announcement.

Circuit diagram

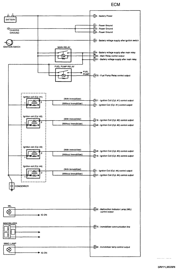
Fig 1: Engine Control System - Circuit Diagram (1 Of 5)
G06107480Courtesy of HYUNDAI MOTOR CO.
Fig 2: Engine Control System - Circuit Diagram (2 Of 5)
G06107481Courtesy of HYUNDAI MOTOR CO.
Fig 3: Engine Control System - Circuit Diagram (3 Of 5)
G06107482Courtesy of HYUNDAI MOTOR CO.
Fig 4: Engine Control System - Circuit Diagram (4 Of 5)
G06107483Courtesy of HYUNDAI MOTOR CO.
Fig 5: Engine Control System - Circuit Diagram (5 Of 5)
G06107484Courtesy of HYUNDAI MOTOR CO.