LEMON Manuals: Even more car manuals for everyone: 1960-2025
Home >> Hyundai >> 2009 >> Tucson AWD L4-2.0L >> Repair and Diagnosis >> Cruise Control >> Cruise Control Switch >> Testing and Inspection
April 5, 2026: LEMON Manuals is launched! Read the announcement.

Cruise Control Switch: Testing and Inspection





Inspection

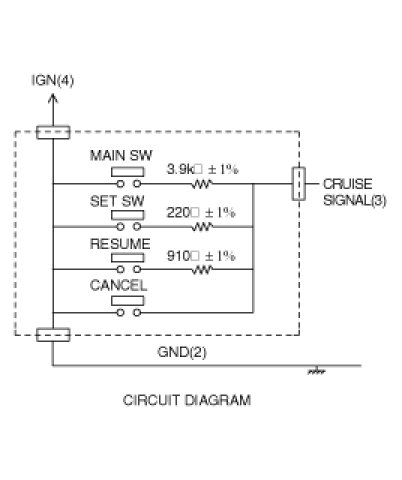
Cruise Remoter Switch Test
1. Disconnect the battery negative cable, then disconnect the positive cable, and wait at least three minutes.
2. Remove the driver's airbag .
3. Disconnect the remoter switch connector(A).




4. Check the continuity between the terminals of the connector in each switch position according to the table.
A. If there is continuity, and it matches the table, the switch is O.K.
B. If there is no continuity, replace the remoter switch.