LEMON Manuals: Even more car manuals for everyone: 1960-2025
Home >> Hyundai >> 2009 >> Tucson AWD L4-2.0L >> Repair and Diagnosis >> Specifications >> Mechanical Specifications >> Engine >> System Specifications >> Oil Pump
April 5, 2026: LEMON Manuals is launched! Read the announcement.

Oil Pump





Oil Pump

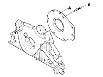
Install oil pump
(1) Place the inner and outer rotors into front case with the marks facing the oil pump cover side.
(2) Install the oil pump cover(A) to front case with the 7 screws(B).

Tightenig torque 6 - 9 Nm (0.6 - 0.9 kgf.m, 4.4 - 6.6 lb-ft)