LEMON Manuals: Even more car manuals for everyone: 1960-2025
Home >> Hyundai >> 2009 >> Tucson AWD V6-2.7L >> Repair and Diagnosis >> Powertrain Management >> Computers and Control Systems >> Fuel Level Sensor >> Service and Repair
April 5, 2026: LEMON Manuals is launched! Read the announcement.

Fuel Level Sensor: Service and Repair





Removal

WARNING:
When lifting up or down vehicle, be sure to place blocks between vehicle and lifter to prevent fuel tank from being damaged.




1. Preparation
(1) Remove the rear seat cushion .
(2) Open the service cover (A).




(3) Disconnect the fuel pump connector (A).




(4) Start the engine and wait until fuel in fuel line is exhausted.
(5) After engine stalls, turn the ignition switch to OFF position.
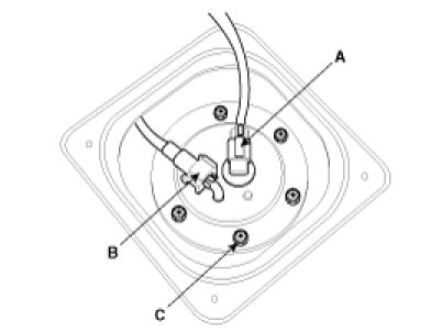
2. Disconnect the sub fuel sender connector (A) and the suction tube quick-connector (B).




3. Remove the sub fuel sender installation bolts (C) and remove the sub fuel sender.






Installation

Installation is reverse of removal.

Sub fuel sender installation bolts:
2.0 - 2.9 N.m (0.2 - 0.3 kgf.m, 1.4 - 2.2 lb-ft)


CAUTION:
When installing the Sub fuel sender, be careful not to get the seal-ring entangled.