LEMON Manuals: Even more car manuals for everyone: 1960-2025
Home >> Hyundai >> 2009 >> Veracruz AWD V6-3.8L >> Repair and Diagnosis >> Body and Frame >> Seats >> Memory Positioning Systems >> Memory Positioning Module >> Diagrams >> Electrical Diagrams >> IMS Control Switch
April 5, 2026: LEMON Manuals is launched! Read the announcement.

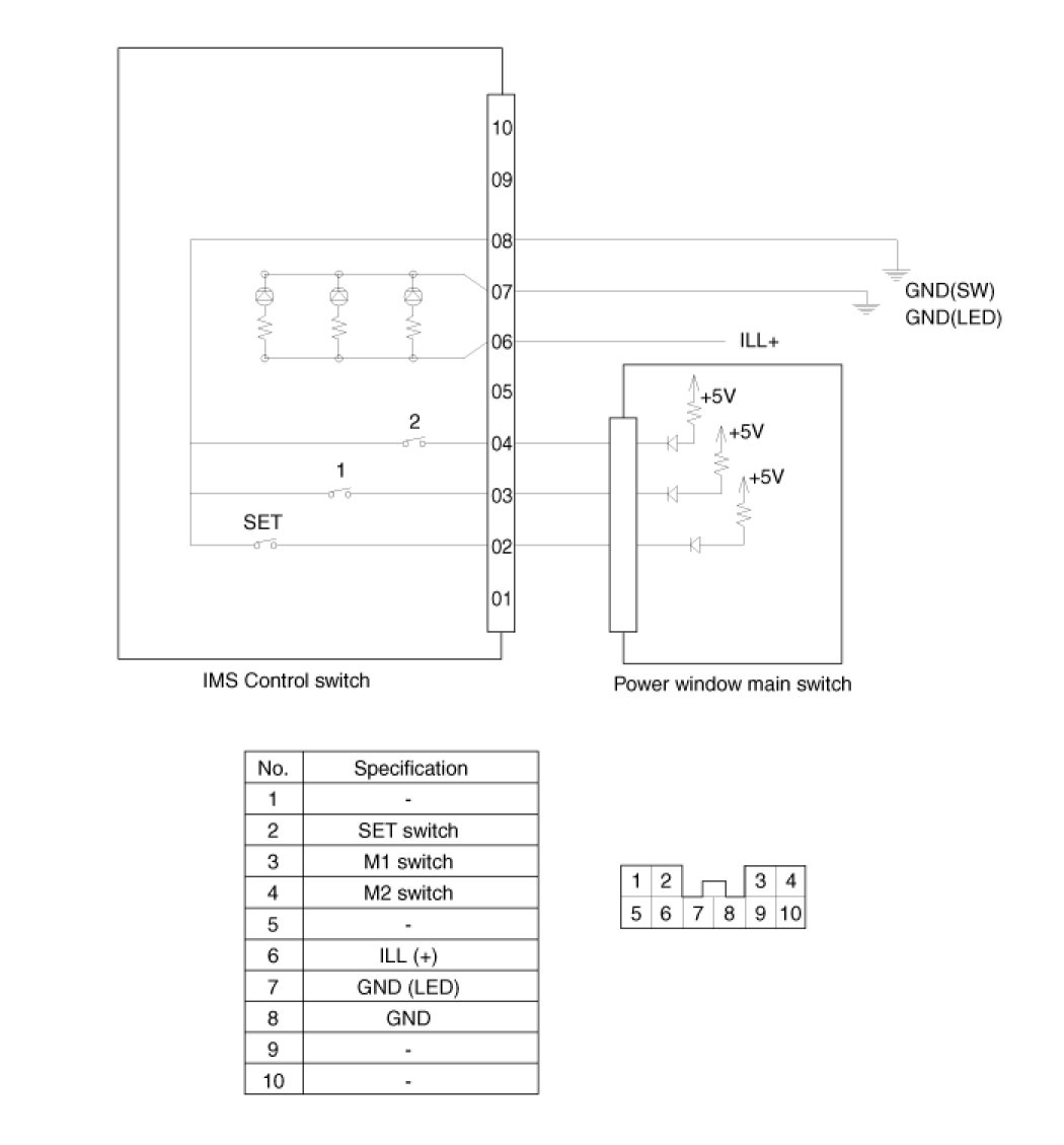
IMS Control Switch





Circuit Diagram