LEMON Manuals: Even more car manuals for everyone: 1960-2025
Home >> Hyundai >> 2009 >> Veracruz AWD V6-3.8L >> Repair and Diagnosis >> Powertrain Management >> Transmission Control Systems >> Relays and Modules - Transmission and Drivetrain >> Relays and Modules - A/T >> Control Module >> Testing and Inspection
April 5, 2026: LEMON Manuals is launched! Read the announcement.

Control Module: Testing and Inspection





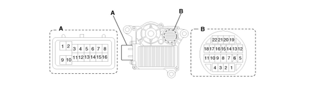
Information Of TCU Connector