LEMON Manuals: Even more car manuals for everyone: 1960-2025
Home >> Hyundai >> 2009 >> Veracruz GLS, AWD >> Repair and Diagnosis >> Engine Performance >> Engine Control Systems >> Engine Control System (Fuel System) (G6DA - GSL 3.8) >> Gasoline Engine Control System >> CVVT Oil Control Valve (OCV) >> Inspection >> Function And Operation Principle
April 5, 2026: LEMON Manuals is launched! Read the announcement.

Function And Operation Principle

Continuously Variable Valve Timing (CVVT) system controls valve overlap with forcibly activating the camshaft and adjusts EGR (Exhaust Gas Recirculation) amount. It decreases exhaust gas (NOx, HC) and improves fuel economy, idle state, torque in low speed and power in high speed. This system uses engine oil pressure and consists of the two CVVT Oil Control Valve (OCV) in each bank which supplies oil to cam phaser according to PWM (Pulse With Modulator) signal of the PCM, a CVVT Oil Temperature Sensor (OTS) which detects the oil temperature and a cam phaser which is installed on the end of the camshaft and converts camshaft phase. The oil getting out of the CVVT oil control valve flows into the cam phaser and rotates the rotor inside cam phaser. At this time, the camshaft rotates with the rotor and the cam phase is changed.

  1. When camshaft rotates engine rotation-wise: Intake-Advance/Exhaust-Retard
  2. When camshaft rotates counter engine rotation-wise: Intake- Retard/Exhaust- Advance
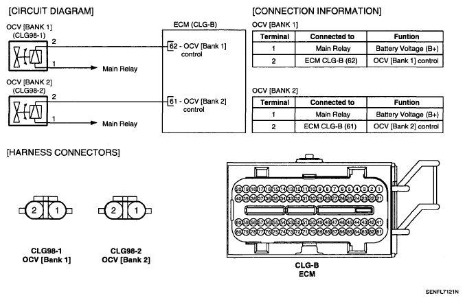
    Fig 1: Identifying CVVT Oil Control Valve (OCV)
    G05329767Courtesy of HYUNDAI MOTOR CO.