LEMON Manuals: Even more car manuals for everyone: 1960-2025
Home >> Hyundai >> 2010 >> Elantra GLS >> Repair and Diagnosis >> Engine Performance >> Engine Control Systems >> Engine Control System >> Description and Operation >> OBD-II Review >> 2. Configuration Of Hardware And Related Terms
April 5, 2026: LEMON Manuals is launched! Read the announcement.

2. Configuration Of Hardware And Related Terms

[TYPE (I) K-LINE] 

Fig 1: ECM/PCM Communication Diagram - Type (I) K-Line
G06863133Courtesy of HYUNDAI MOTOR CO.

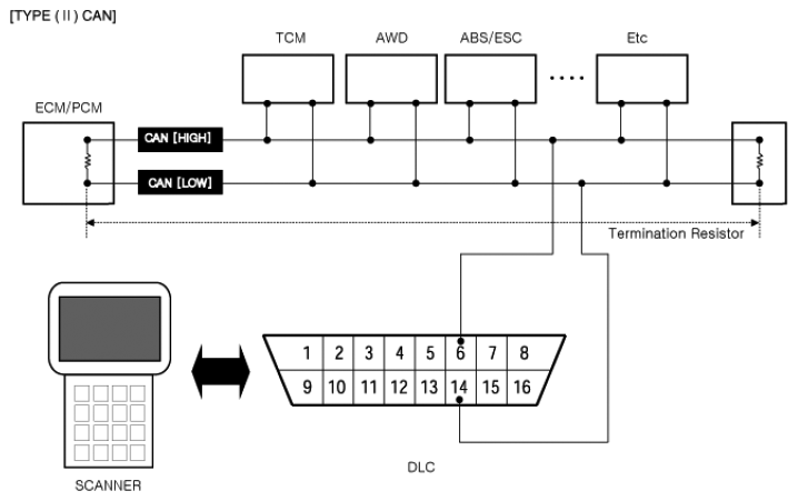
[TYPE (II) CAN] 

Fig 2: ECM/PCM Communication Diagram - Type (II) CAN (1 Of 2)
G06863134Courtesy of HYUNDAI MOTOR CO.
Fig 3: ECM/PCM Communication Diagram - Type (II) CAN (2 Of 2)
G06863135Courtesy of HYUNDAI MOTOR CO.

The Malfunction Indicator Lamp (MIL) is connected between ECM or PCM-terminal Malfunction Indicator Lamp and battery supply (open collector amplifier).

In most cars, the MIL will be installed in the instrument panel. The lamp amplifier can not be damaged by a short circuit.

Lamps with a power dissipation much greater than total dissipation of the MIL and lamp in the tester may cause a fault indication.

A driving cycle consists of engine start up and engine shut off and includes the period of engine off time up to the next engine startup.

A warm-up cycle means sufficient vehicle operation such that the engine coolant temperature has risen by at least 40 degrees Fahrenheit from engine starting and reaches a minimum temperature of at least 160 degrees Fahrenheit.

A trip means vehicle operation (following an engine-off period) of duration and driving mode such that all components and systems are monitored at least once by the diagnostic system except catalyst efficiency or evaporative system monitoring when a steady-speed check is used, subject to the limitation that the manufacturer-defined trip monitoring conditions shall all be encountered at least once during the first engine start portion of the applicable FTP cycle.

The letter of the beginning of the DTC identifies the function of the monitored device that has failed. A "P" indicates a powertrain device, "C" indicates a chassis device. "B" is for body device and "U" indicates a network or data link code. The first number indicates if the code is generic (common to all manufacturers) or if it is manufacturer specific. A "0" & "2" indicates generic, "1" indicates manufacturer-specific. The second number indicates the system that is affected with a number between 1 and 7.

The following is a list showing what numbers are assigned to each system.

  1. Fuel and air metering
  2. Fuel and air metering (injector circuit malfunction only)
  3. Ignition system or misfire
  4. Auxiliary emission controls
  5. Vehicle speed controls and idle control system
  6. Computer output circuits
  7. Transmission

The last two numbers of the DTC indicates the component or section of the system where the fault is located.

When a freeze frame event is triggered by an emission related DTC, the ECM or PCM stores various vehicle information as it existed the moment the fault occurred. The DTC number along with the engine data can be useful in aiding a technician in locating the cause of the fault. Once the data from the 1st driving cycle DTC occurrence is stored in the freeze frame memory, it will remain there even when the fault occurs again (2nd driving cycle) and the MIL is illuminated.