LEMON Manuals: Even more car manuals for everyone: 1960-2025
Home >> Hyundai >> 2010 >> Genesis 3.8 >> Repair and Diagnosis >> Engine Performance >> Engine Control Systems >> Engine Control System (Fuel System (G6DB/G6DA - GSL 3.3/3.8)) >> Accelerator Position Sensor (APS) >> Circuit Diagram
April 5, 2026: LEMON Manuals is launched! Read the announcement.

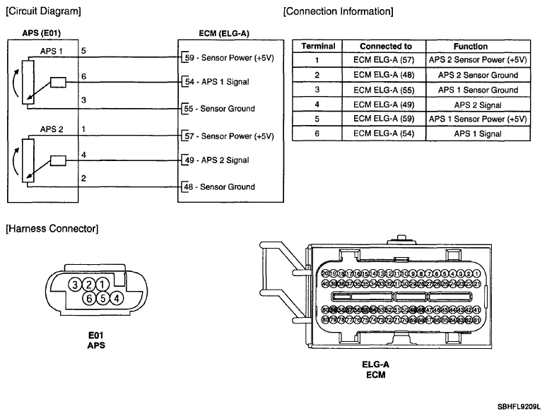
Circuit Diagram

Fig 1: APS And ECM Circuit Diagram
G06106160Courtesy of HYUNDAI MOTOR CO.