LEMON Manuals: Even more car manuals for everyone: 1960-2025
Home >> Hyundai >> 2010 >> Genesis Sedan V8-4.6L >> Repair and Diagnosis >> Powertrain Management >> Computers and Control Systems >> Body Control Module >> Diagrams >> Electrical Diagrams >> Assist Door Module (ADM)
April 5, 2026: LEMON Manuals is launched! Read the announcement.

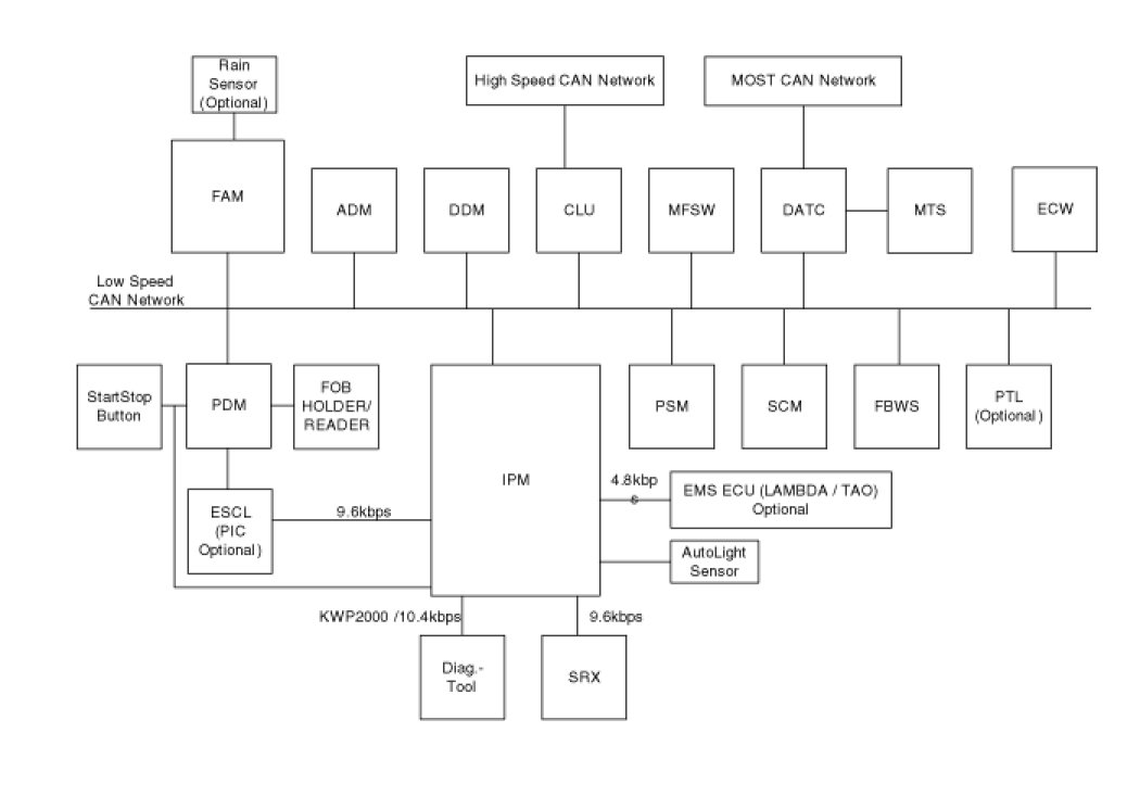
Assist Door Module (ADM)





Schematic Diagram