LEMON Manuals: Even more car manuals for everyone: 1960-2025
Home >> Hyundai >> 2010 >> Genesis Sedan V8-4.6L >> Repair and Diagnosis >> Starting and Charging >> Starting System >> Keyless Starting System >> Description and Operation >> Button Engine Start System
April 5, 2026: LEMON Manuals is launched! Read the announcement.

Button Engine Start System





Description

System Overview
The System offers the following features:
- Human machine interface through a 1-stage button, for terminal switching and engine start.
- Control of external relays for ACC / IGN1 / IGN2 terminal switching and STARTER, without use of mechanical ignition switch.
- Steering column locking with an ESCL device; Monitoring of the vehicle status to insure safe activation of the ESCL.
- Indication of vehicle status through LED or explicit messages on display.
- Immobilizer function by LF transponder communication between fob and fob holder.
- Redundant architecture for high system dependability.
- Interface with Low Speed CAN vehicle communication network.
- Interface with LIN vehicle communication network depending on platform.
The RKE and SMART KEY functions are not considered part of this Button Engine Start system and are specified in separated system.

System Main Function
- Steering column locking/unlocking with ESCL.
- Switching of ACC / IGN1 / IGN2 terminals.
- Control of the STARTER relay BAT line (high side) based on communication with EMS ECU.
- Management of the Immobilizer function.
- Management of BES warning function.

Button Engine Start System
The Button Start System allows the driver to operate the vehicle by simply pressing a button (called as SSB) instead of using a standard mechanical key. It also manages the locking and the unlocking of the steering column (called as ESCL)without any specific actions by the driver.
If the driver press the SSB while prerequisites on brakes, fob authentication and transmission status are satisfied, the BES System will proceed with the locking/unlocking of the steering column, the control of the terminal, and the cranking of the engine.
The driver can release the SSB as soon as this sequence initiated. After positive response from immobilizer interrogation, the system will activate the starter motor and communicate with the EMS to check the engine running status for starter release.
The driver will be able to stop the engine by a short push on the SSB if the vehicle is already in standstill. Emergency engine stop will be possible by a long press of the SSB or 3 consecutive presses in case the vehicle is in ENGINE RUNNING.
If the conditions for engine cranking are not satisfied while a push on the SSB is detected and a valid fob authenticated, the system will unlock the steering column and switch the terminals to IGN. Another push on the SSB will be necessary to start the engine.
In case of a vehicle equipped with SMART KEY system, fob authentication will not require any action from the driver. For limp home start or in case of vehicle without SMART KEY, the driver will have to insert the fob into the fob holder.




- Control Ignition and engine ON/OFF by Sending signal to IPM and PDM.
- Display status by LED Lamp ON/OFF. (Amber or Blue)
Indicator ON/OFF Condition At Ignition Key Off Condition





Indicator ON/OFF Condition According To Ignition Key's Position










Wireless Communication
Electromagnetic waves are used to exchange information between the vehicle and the FOB. Two types of RKE Key can supplement the BES system:
- Non-smart key RKE
- SMART KEY FOB
Currently the BES system comprises with SMART KEY FOB always.
The transmitter, receiver and antennas required for the communication between the fob and the vehicle will differ depending on functionalities and regional areas.
The RKE and SMART KEY functions are in separated documents. Refer to Smart key system for more detailed information about SMART KEY function.

Smart Key
The SMK manages all function related to:
- "Start Stop Button (SSB) monitoring",
- "Immobilizer communication" (with Engine Management System unit for immobilizer release),
- "ESCL control",
- "Authentication server" (Validity of Transponder and in case of Smart Key option Passive Fob authentication ),
- "System consistency monitoring",
- "System diagnosis",
- Control of display message / warning buzzer.




The unit behaves as Master role in the whole system.
In case of SMART KEY application, for example "Passive Access", "Passive Locking" and "Passive Authorization are integrated for ESCL/Terminal switching Operations".
It collects information about vehicle status from other modules (vehicle speed, alarm status, driver door open.), reads the inputs (e.g. SSB, Lock Button, PARK position Switch), controls the outputs (e.g. exterior and interior antennas), and communicates with others devices via the CAN network as well as a single line interfaces.
The diagnosis and learning of the components of the BES System are also handled by the SMK.

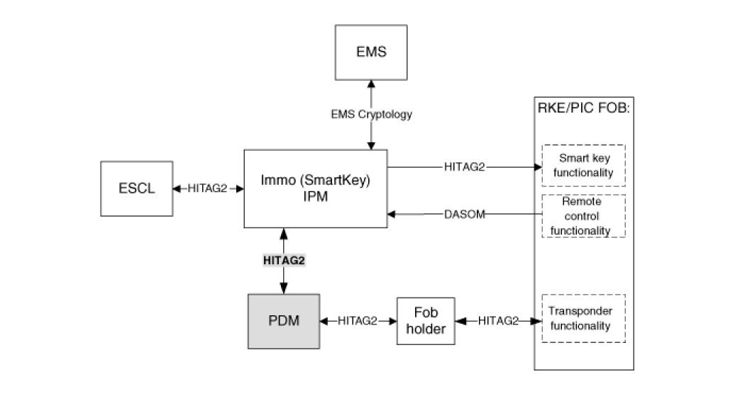
PDM




The PDM (A) manages the functions related to the "terminal control" by activating external relays for ACC, IGN1 and IGN2. This unit is also responsible for the control of the STARTER relay.
It controls also the power supply of the ESCL by switching the power and ground ESCL supply lines depending on vehicle status. The purpose of this function is to prevent the ESCL to be energized if ACC or IGN are switched on.
The PDM is also controlling the illumination of the SSB as well as the "system status indicator", which consists of 2 LEDs of different color. The illumination of the fob holder is also managed by the PDM.
The PDM reads the inputs (Engine fob_in, vehicle speed, relays contact status, ESCL lock status), controls the outputs (Engine relay output drivers, ESCL power), and communicates with others devices via the CAN.
The internal architecture of the PDM is defined in a way that the control of the terminal and of the ESCL power is secured even in case of failure of one of the two microcontrollers, system inconsistency or interruption of communication on the CAN network.
In case, failure of one of the two controllers, the remaining controller shall disable the starter relay and the ESCL power supply. The IGN1 and IGN2 terminals relays shall be maintained in the state memorized before the failure and the driver shall be able to switch those IGN terminals off by pressing the SSB with EMERGENCY_STOP pressing sequence. However, engine restart will not be allowed. The state of the ACC relay will depend on the type of failure.
The PDM is diagnosed through the SMK MUT service, using the CAN network.
The main functions of the PDM are:
- Control of Terminal relays
- Monitoring of the Vehicle speed received from sensor or ABS/ESP ECU.
- Control of SSB LEDs (illumination, clamp state) and FOB HOLDER illumination.
- Control of ESCL power lines and monitoring of the ESCL unlock status
- Control of the base station located in fob holder through direct serial interface.
- System consistency monitoring to diagnose SMK failure and to switch to relevant limp home mode.
- Providing vehicle speed information

Fob Holder




This unit is used for transponder authentication. In case of a vehicle equipped with Smart key, this transponder authentication is necessary in case of failure of the passive fob authentication (Engine loss of RF or LF link with the fob).
The Fob holder module integrates a slot where to insert the fob. The fob is maintained in position with a push-push mechanical locking (not electrically driven) and a signal (FOB_IN) is sent back to the PDM as soon as its insertion is detected.
The power supply of the fob holder is active only if a communication is initiated by the PDM.
The insertion of the fob into the holder and the communication with the transponder should be possible regardless of the insertion direction of fob to the holder (buttons facing up or bottom).
A lighting device is also integrated for illumination of the Fob Holder and it is driven directly by the PDM,
The main functions of the Fob holder are:
- Transponder base station
- Fob mechanical lock
- Illumination

Transponder





External Receiver(SRX)




The data transmitted by the RKE or Smart key Fob is received by an external RF receiver called as SRX. This receiver will be same as that one for the SMK applications, with respect to electronics, housing, connector and software.
This receiver is connected to the SMK via a serial communication line.

Terminal And Starter Relays
Relays will be used to switch the terminals ACC / IGN1 / IGN2. Those normally-open relays will be driven by the PDM and located either in the passenger or engine compartment depending on the vehicle architecture.
Only one relay coil is connected to the terminal outputs of the PDM.
Those relays should integrate a resistor connected in parallel to the coil in order to reduce the transients during commutation.

Start/Stop Button(SSB)
A single stage push button is used for the driver to operate the vehicle. Pressing this button allows:
- To activate the power modes 'Off', 'Accessory', 'Ignition' and 'Start' by switching the corresponding terminals
- To start the engine
- To stop the engine
The contact will be insured by a micro-switch and a backlighting is provided to highlight the marking of the button whenever necessary.
Two (2) LED colors are located in the center of the button to display of the status of the system. Another illumination LED is also integrated into the SSB for the lighting of the "Engine Start/Stop" characters.





Electronic Steering Column Lock (ESCL)
The ESCL(A) is needed to lock the steering column in order to prevent unauthorized usage of the vehicle. In order to achieve the required safety integrity level, the ESCL is controlled and monitored by 2 independent units, the SMK and the PDM. Such redundant architecture guarantees that the ESCL motor is supplied only during locking/unlocking operation and that it is disconnected from the battery and ground lines otherwise to avoid unexpected operation while the vehicle is in motion.
Data are exchanged between the ESCL and SMK through an encrypted serial communication interface.





BES System State Chart

System STATES in LEARNT MODE
In learnt mode, the BES System can be set in 6 different sates, depending on the status of the terminals, ESCL and Engine status:





Referring to the terminals, the system states described in the table above are same as those one found in a system based on a mechanical ignition switch. The one of distinction with Mechanical-Ignition-Switch based system is that the BES system allows specific transition from [OFF] to [START] without going through [ACC] and [IGN] states.

System STATES IN VIRGIN MODE
The BES System can be set in 5 different states (OFF LOCKED is not available in virgin mode), depending on the status of the terminals, ESCL and Engine status:





Referring to the terminals, the system states described in the table above are same as those one found in a system based on a mechanical ignition switch. The one of distinction with Mechanical-Ignition-Switch based system is that the BES system allows specific transition from [OFF] to [START] without going through [ACC] and [IGN] states.