LEMON Manuals: Even more car manuals for everyone: 1960-2025
Home >> Hyundai >> 2011 >> Equus Signature >> Repair and Diagnosis (Single Page) >> Accessories & Equipment >> Cruise Control Systems >> Smart Cruise Control System >> Smart Cruise Control Unit >> Repair Procedures >> Smart Cruise Control(SCC) Sensor Alignment >> Sensor Alignment Procedure (Parking Mode)
April 5, 2026: LEMON Manuals is launched! Read the announcement.

Sensor Alignment Procedure (Parking Mode)

The SCC sensor can be aligned using a metal plate reflector.

The ignition switch should be ON for the alignment procedure.

  1. Put the rear wheel of the vehicle on the dynamometer roll.
    Fig 1: Identifying Rear Wheel Of Vehicle On Dynamometer Roll
    G07309129Courtesy of HYUNDAI MOTOR CO.
  2. Rotate the rear wheel (approximately three revolutions) to make the rear axis be parallel to dynamometer axis. Make sure the steering wheel is straight ahead to align the front wheels to the vehicle motion vector.
    Fig 2: Identifying Position Of Rear Axis Parallel To Dynamometer Axis
    G07309130Courtesy of HYUNDAI MOTOR CO.
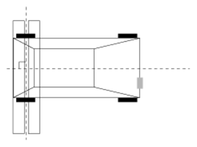
  3. Put the metal plate reflector (09964-3N200) on the front of the sensor so the reflector is perpendicular to the vehicle motion vector.
    Fig 3: Identifying Distance Between Reflector And SCC Sensor And Unit
    G07309131Courtesy of HYUNDAI MOTOR CO.
    NOTE:
    • The reflector should be perpendicular to the floor. Use the bubble level on the reflector.
    • Make sure that there is no other material except the reflector in a space around the reflector.
    • Between the vehicle and reflector
    • Within 1.0m (3.28ft) from the back of the reflector
    • Within 0.5m (1.64ft) from the left of right side of the reflector
    • Within 1.0m (3.28ft) from the top of the reflector
  4. Connect the GDS to the vehicle. Select the model and the system and click the "Vehicle S/W Management".
    NOTE: Erase the DTC code (C1620) before the sensor alignment procedure.
  5. Select "Parking Mode" to start sensor alignment.
    Fig 4: Selecting Parking Mode To Start Sensor Alignment
    G07309132Courtesy of HYUNDAI MOTOR CO.
  6. Check the alignment (0%) start on the GDS. The progress of the alignment is displayed on the GDS.
    Fig 5: Display Progress Of Alignment On GDS
    G07309133Courtesy of HYUNDAI MOTOR CO.
  7. Make sure that the sensor alignment is completed (100%).
    Fig 6: Display Sensor Alignment Completed Screen
    G07309134Courtesy of HYUNDAI MOTOR CO.
  8. If the sensor alignment fails, delete the DTC code (C1620) and then repeat the above procedure.