LEMON Manuals: Even more car manuals for everyone: 1960-2025
Home >> Hyundai >> 2011 >> Equus Signature >> Repair and Diagnosis (Single Page) >> Engine Performance >> Engine Control Systems >> Engine Control System Components >> Injector >> Repair Procedures >> Removal
April 5, 2026: LEMON Manuals is launched! Read the announcement.

Repair Procedures: Removal

  1. Turn the ignition switch OFF and disconnect the battery negative (-) cable.
  2. Release the residual pressure in fuel line (Refer to "RELEASE RESIDUAL PRESSURE IN FUEL LINE " in this group).
    CAUTION:
    • When removing the fuel pump relay, a Diagnostic Trouble Code (DTC) may occur. Delete the code with the GDS after completion of "Release Residual Pressure in Fuel Line" work.
  3. Disconnect the purge control solenoid valve connector (A) and the vapor hose (B).
  4. Remove the fuel tube (C) after removing the nut.
    Fig 1: Identifying Purge Control Solenoid Valve Connector, Vapor Hose And Fuel Tube
    G07311548Courtesy of HYUNDAI MOTOR CO.
  5. Remove the purge control solenoid valve after removing the installation bolt.
  6. Remove the delivery pipe hose (B) from the bracket (C) after removing the wiring protector (A).
    Fig 2: Identifying Delivery Pipe Hose, Bracket And Wiring Protector
    G07311549Courtesy of HYUNDAI MOTOR CO.
  7. Disconnect the injector connector (A).
  8. Remove the delivery pipe assembly (B) from the intake manifold after removing 4 bolts.
    Fig 3: Identifying Injector Connector And Delivery Pipe Assembly
    G07311550Courtesy of HYUNDAI MOTOR CO.
    Fig 4: Identifying Injector Connector And Delivery Pipe Assembly
    G07311551Courtesy of HYUNDAI MOTOR CO.
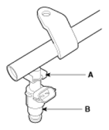
  9. Remove the fixing clip (A), and then separate the injector (B) from the delivery pipe.
    Fig 5: Identifying Fixing Clip And Injector
    G07311552Courtesy of HYUNDAI MOTOR CO.