LEMON Manuals: Even more car manuals for everyone: 1960-2025
Home >> Hyundai >> 2011 >> Equus Ultimate >> Repair and Diagnosis >> Accessories & Equipment >> Cruise Control Systems >> Smart Cruise Control System >> Smart Cruise Control Unit >> Repair Procedures >> Installation
April 5, 2026: LEMON Manuals is launched! Read the announcement.

Repair Procedures: Installation

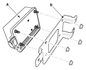
  1. Assemble the smart cruise control unit (A) to the bracket (B) correctly.
    Fig 1: Identifying Smart Cruise Control Unit And Bracket
    G07309127Courtesy of HYUNDAI MOTOR CO.
  2. Install the smart cruise control unit bracket (B) on the vehicle.
  3. Connect the smart cruise control connector (A) to the unit.
    Fig 2: Identifying Smart Cruise Control Connector And Bracket
    G07309128Courtesy of HYUNDAI MOTOR CO.
  4. Align the smart cruise control sensor. (Refer to Smart Cruise Control(SCC) Sensor Alignment  the Alignment in this group)
  5. Install the bumper. (Refer to BUMPERS )