LEMON Manuals: Even more car manuals for everyone: 1960-2025
Home >> Hyundai >> 2011 >> Equus Ultimate >> Repair and Diagnosis >> Accessories & Equipment >> Cruise Control Systems >> Smart Cruise Control System >> Smart Cruise Control Unit >> Repair Procedures >> Removal
April 5, 2026: LEMON Manuals is launched! Read the announcement.

Repair Procedures: Removal

  1. Remove the bumper. (Refer to BUMPERS )
  2. Disconnect the smart cruise control unit connector (A).
  3. Loosen the bolts and then remove the smart cruise control unit bracket (B).
    Fig 1: Identifying Smart Cruise Control Unit Connector And Bracket
    G07309125Courtesy of HYUNDAI MOTOR CO.
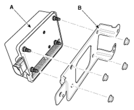
  4. Loosen the nuts and then disassemble the smart cruise control unit (A) from the bracket (B).
    Fig 2: Identifying Smart Cruise Control Unit And Bracket
    G07309126Courtesy of HYUNDAI MOTOR CO.