LEMON Manuals: Even more car manuals for everyone: 1960-2025
Home >> Hyundai >> 2011 >> Equus Ultimate >> Repair and Diagnosis >> Engine Mechanical >> Mechanical >> Engine Timing System >> Timing Chain >> Repair Procedures >> Installation >> Notes
April 5, 2026: LEMON Manuals is launched! Read the announcement.

Repair Procedures: Installation: Notes

  1. Install the tensioner adapter (A) and the timing chain guide bolts (B).

    Tightening torque: 

    Tensioner adapter bolts:

    21.6 ~ 25.5N.m (2.2 ~ 2.6kgf.m, 15.9 ~ 18.8lb-ft)

    Timing chain guide bolts:

    21.6 ~ 25.5N.m (2.2 ~ 2.6kgf.m, 15.9 ~ 18.8lb-ft)

    Fig 1: Identifying Tensioner Adapter And Timing Chain Guide Bolts
    G07308602Courtesy of HYUNDAI MOTOR CO.
  2. Install the crankshaft sprocket (A) with the friction plates (B).
    NOTE: Completely fix the four friction plate clips and the sprocket groove.
    Align the key-home of the friction plate with the key-home of the sprocket.
    Be careful for the clip not to be folded.
    The block is placed at bottom up before install the timing chain system and timing chain cover assembly.
    Fig 2: Identifying Crankshaft Sprocket With Friction Plates
    G07308603Courtesy of HYUNDAI MOTOR CO.
    CAUTION: The mark of friction plate should be placed top. (Engine is placed bottom up)
  3. Install the oil pump chain (C) with the oil pump sprocket (B) and oil pump chain tensioner (A).

    Tightening torque: 

    A: 9.8 ~ 11.8N.m (1.0 ~ 1.2kgf.m, 7.2 ~ 8.7lb-ft)

    B: 21.6 ~ 25.5N.m (2.2 ~ 2.6kgf.m, 15.9 ~ 18.8lb-ft)

    Fig 3: Identifying Oil Pump Chain Tensioner, Oil Pump Sprocket And Oil Pump Chain
    G07308604Courtesy of HYUNDAI MOTOR CO.
  4. Install the timing chain with the timing chain tensioner arm (A), the timing chain guide (B) and the timing chain locking tool (SST: 09231-2J600) (C).

    Tightening torque: 

    Timing chain tensioner arm bolts:

    21.6 ~ 25.5N.m (2.2 ~ 2.6kgf.m, 15.9 ~ 18.8lb-ft)

    Fig 4: Installing Timing Chain With Timing Chain Tensioner Arm (Right Side)
    G07308605Courtesy of HYUNDAI MOTOR CO.
    Fig 5: Installing Timing Chain With Timing Chain Tensioner Arm (Left Side)
    G07308606Courtesy of HYUNDAI MOTOR CO.
    NOTE: Align the timing mark of the friction plate and crankshaft sprocket.
    Fig 6: Identifying Timing Mark Of Friction Plate And Crankshaft Sprocket
    G07308607Courtesy of HYUNDAI MOTOR CO.
  5. Install the timing chain lower cover.
    NOTE: Assemble the timing chain lower cover with engine bottom up condition.
    1. The sealant locations on chain lower cover and on counter parts (cylinder head, cylinder block, and lower oil pan) must be free of engine oil and etc.
    2. Install the new gasket (A) to the timing chain lower cover.
      Fig 7: Identifying Gasket
      G07308608Courtesy of HYUNDAI MOTOR CO.
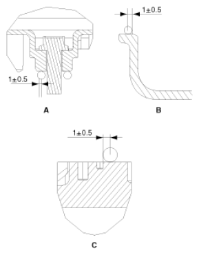
    3. Apply liquid sealant LT 5900H or equivalent on timing chain lower cover. The part must be assembled within 5 minutes after sealant was applied.

      Sealant should be applied in a continuous bead in each of the areas indicated below.

      Bead width:  Ø2.5 ± 0.5mm

      Fig 8: Identifying Sealant Applying Area Of Timing Chain Lower Cover
      G07308609Courtesy of HYUNDAI MOTOR CO.
      Fig 9: Identifying Sealant Applying Areas
      G07308610Courtesy of HYUNDAI MOTOR CO.
      NOTE:
      • During timing chain lower cover installation, care not to take off applied sealant on the timing chain lower cover by contact with other parts.
      • Apply sealant in a 4.0 ± 0.5mm wide spot for the 4 T-joints (D).
    4. The dowel pins on the cylinder block and holes on the timing chain lower cover should be used as a reference in order to assemble the timing chain lower cover to be in exact position.

      Tightening torque: 

      23.5 ~ 27.5N.m (2.4 ~ 2.8kgf.m, 17.4 ~ 20.3lb-ft)