LEMON Manuals: Even more car manuals for everyone: 1960-2025
Home >> Hyundai >> 2011 >> Genesis 4.6 >> Repair and Diagnosis >> Accessories & Equipment >> Cruise Control Systems >> Smart Cruise Control System >> Smart Cruise Control Unit >> Repair procedures >> Installation
April 5, 2026: LEMON Manuals is launched! Read the announcement.

Repair procedures: Installation

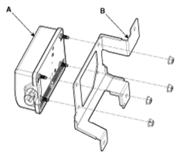
  1. Assemble the smart cruise control unit (A) to the bracket (B) correctly.
    Fig 1: Identifying Nuts, Smart Cruise Control Unit And Bracket
    G07302313Courtesy of HYUNDAI MOTOR AMERICA
  2. Install the smart cruise control unit bracket (B) on the vehicle.
  3. Connect the smart cruise control connector (A) to the unit.
    Fig 2: Identifying Bolts, Smart Cruise Control Unit Connector And Smart Cruise Control Unit Bracket
    G07302314Courtesy of HYUNDAI MOTOR AMERICA
  4. Align the smart cruise control sensor. (Refer to Repair procedures  the in this group)
  5. Install the bumper. (Refer to REPLACEMENT )