LEMON Manuals: Even more car manuals for everyone: 1960-2025
Home >> Hyundai >> 2011 >> Genesis 4.6 >> Repair and Diagnosis >> Accessories & Equipment >> Cruise Control Systems >> Smart Cruise Control System >> Smart Cruise Control Unit >> Repair procedures >> Sensor Alignment Procedure (Parking Mode)
April 5, 2026: LEMON Manuals is launched! Read the announcement.

Sensor Alignment Procedure (Parking Mode)

The SCC sensor can be aligned using a metal plate reflector.

The ignition switch should be ON for the alignment procedure.

  1. Put the rear wheel of the vehicle on the dynamometer roll.
    Fig 1: Putting Rear Wheel Of Vehicle On Dynamometer Roll
    G07302315Courtesy of HYUNDAI MOTOR AMERICA
  2. Rotate the rear wheel (approximately three revolutions) to make the rear axis be parallel to dynamometer axis. Make surethe steering wheel is straight ahead to align the front wheels to the vehicle motion vector.
    Fig 2: Identifying Rear Axis Parallel To Dynamometer Axis
    G07302316Courtesy of HYUNDAI MOTOR AMERICA
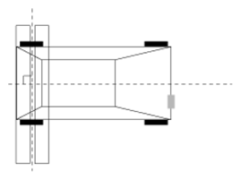
  3. Put the metal plate reflector (09964-3N200) on the front of the sensor so the reflector is perpendicular to the vehicle motion vector.
    Fig 3: Putting Metal Plate Reflector (09964-3N200) On Front Of Sensor
    G07302317Courtesy of HYUNDAI MOTOR AMERICA
    NOTE:
    • The reflector should be perpendicular to the floor. Use the bubble level on the reflector.
    • Make sure that there is no other material except the reflector in a space around the reflector.
    • Between the vehicle and reflector
    • Within 1.0m (3.28ft) from the back of the reflector
    • Within 0.5m (1.64ft) from the left of right side of the reflector
    • Within 1.0m (3.28ft) from the top of the reflector
  4. Connect the GDS to the vehicle. Select the model and the system and click the "Vehicle S/W Management".
    NOTE: Erase the DTC code (C1620) before the sensor alignment procedure.
  5. Select "Parking Mode" to start sensor alignment.
    Fig 4: Selecting "Parking Mode" To Start Sensor Alignment
    G07302318Courtesy of HYUNDAI MOTOR AMERICA
  6. Check the alignment (0%) start on the GDS. The progress of the alignment is displayed on the GDS.
    Fig 5: GDS Screen Display - Alignment Progress
    G07302319Courtesy of HYUNDAI MOTOR AMERICA
  7. Make sure that the sensor alignment is completed (100%).
    Fig 6: GDS Screen Display - Sensor Alignment Is Completed (100%)
    G07302320Courtesy of HYUNDAI MOTOR AMERICA
  8. If the sensor alignment fails, delete the DTC code (C1620) and then repeat the above procedure.