LEMON Manuals: Even more car manuals for everyone: 1960-2025
Home >> Hyundai >> 2011 >> Tucson AWD L4-2.4L >> Repair and Diagnosis >> Power and Ground Distribution >> Relay Box >> Service and Repair >> ICM (Integrated Circuit Module) Relay Box
April 5, 2026: LEMON Manuals is launched! Read the announcement.

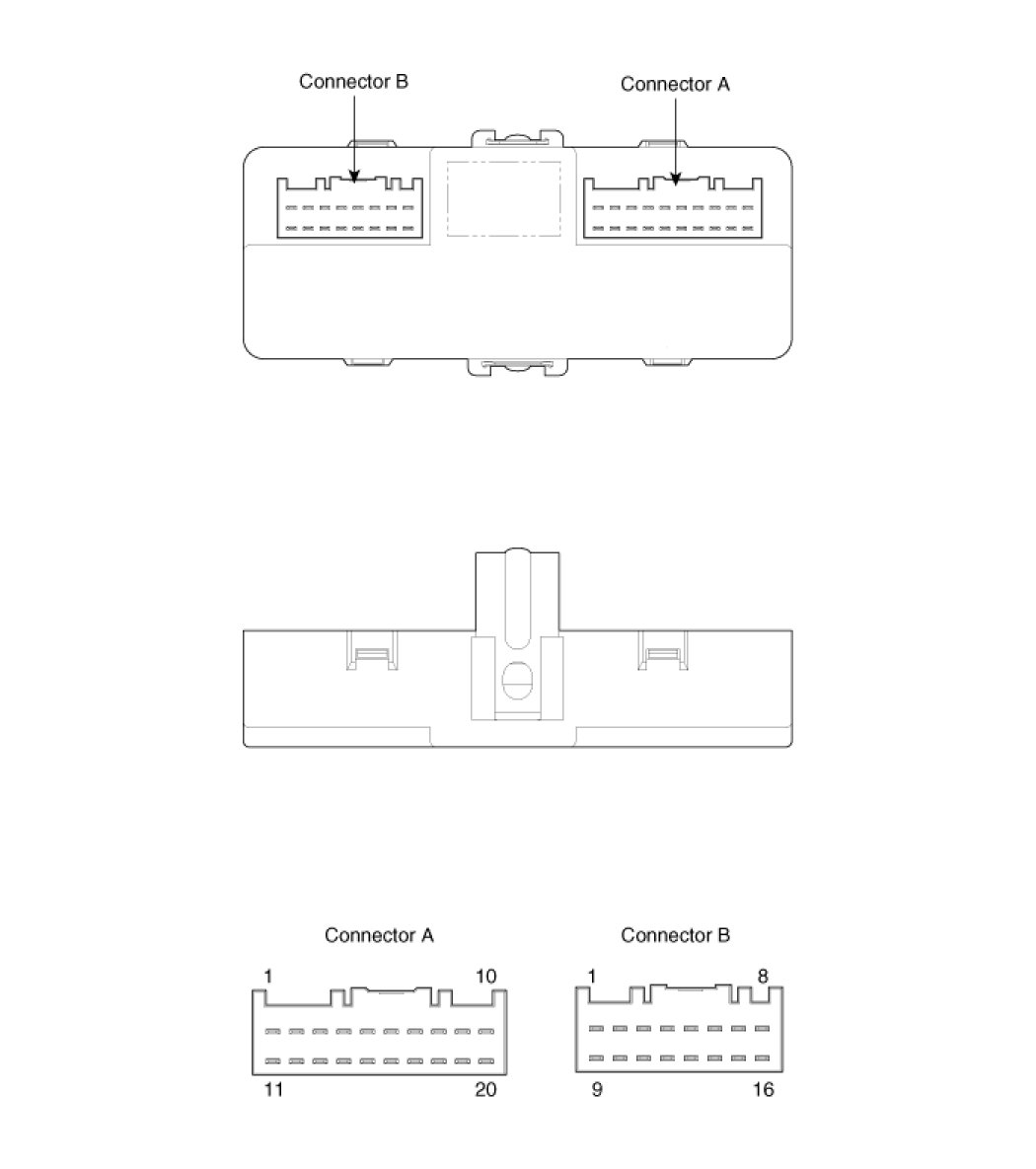
ICM (Integrated Circuit Module) Relay Box





Component