LEMON Manuals: Even more car manuals for everyone: 1960-2025
Home >> Hyundai >> 2012 >> Azera >> Repair and Diagnosis >> Transmission >> Transmission Control Systems >> Automatic Transaxle Control System >> SS-A Solenoid Valve (ON/OFF) >> Repair Procedures >> Installation
April 5, 2026: LEMON Manuals is launched! Read the announcement.

Repair Procedures: Installation

  1. Installation is the reverse of removal.
    NOTE:
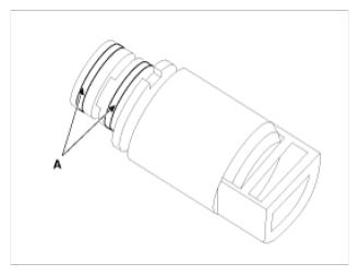
    • When installing, apply the ATF oil or white vaseline to the O-ring (A) not to be damaged.
      Fig 1: Identifying Solenoid Valve O-Rings
      G08809967Courtesy of HYUNDAI MOTOR AMERICA
    • Adding automatic transaxle fluid.

      (Refer to "FLUID ")

    • Use new valve body gasket (A).
      Fig 2: Identifying Valve Body Gasket
      G08809968Courtesy of HYUNDAI MOTOR AMERICA