LEMON Manuals: Even more car manuals for everyone: 1960-2025
Home >> Hyundai >> 2012 >> Sonata L4-2.4L >> Repair and Diagnosis >> Relays and Modules >> Relays and Modules - Starting and Charging >> Keyless Start Control Module >> Service and Repair >> Smart Key Unit >> Repair Procedures
April 5, 2026: LEMON Manuals is launched! Read the announcement.

Repair Procedures





Inspection

Smart Key Unit
- Refer to the BE group - inspection / self diagnosis with GDS.

Smart Key Switch
- Refer to the BE group - inspection / self diagnosis with GDS.

Antenna
- Refer to the BE group - inspection / self diagnosis with GDS.

Trunk Lid Open Switch
1. Check for continuity between the Trunk lid open switch terminals.




2. If continuity is not specified, inspect the switch






Removal

NOTE:
- Take care not to scratch the crash pad and related parts

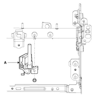
Smart key unit
1. Disconnect the negative(-) battery terminal.
2. Remove the glove box.

3. Remove the smart key unit (A) after disconnecting the connector and releasing the locks (B) from both sides of the bracket.
If necessary of removing it with bracket(C), remove the smart key unit with bracket after loosening the mounting nuts (2EA) and screw (1EA) mounted inside.




4. In case of Canada, remove the smart key unit with bracket (A) after loosening the mounting nuts, screws and shear bolt (B).





CAUTION:
Do not reuse the shear bolts. When installing the new shear bolts to the smart key unit, tighten the shear bolts until its head is cut off.

RF Receiver

NOTE:
- Take care not to scratch the crash pad and related parts

1. Disconnect the negative(-) battery terminal.
2. Remove the glove box.

3. Remove the RF receiver (A) after loosening the mounting nuts (2EA) and disconnecting the connector.





Interior 1 Antenna
1. Disconnect the negative(-) battery terminal.
2. Remove the crash pad garnish (A).




3. Remove the center fascia panel (A) after loosening the mounting screws.




4. Remove the crash pad center lower tray (A) after loosening the mounting screws.




5. Remove the interior 1 antenna (A) after disconnecting the connector and loosening the mounting nuts (2EA).





Interior 2 Antenna
1. Disconnect the negative(-) battery terminal.
2. Remove the center console rear cover (A).




3. Disconnect the interior 2 antenna connector located at the console rear side, then remove the interior 2 antenna (A) after loosening screws (2EA).





Trunk Antenna
1. Disconnect the negative(-) battery terminal.
2. Remove the trunk transverse trim.

3. Disconnect the trunk antenna connector (A) and remove the trunk antenna (B) after loosening nut (2EA).





Exterior Bumper Antenna
1. Disconnect the negative(-) battery terminal.
2. Remove the rear bumper.

3. Disconnect the antenna connector (B) and remove the exterior bumper antenna (A) after loosening the screws (2EA).





Buzzer
1. Disconnect the negative(-) battery terminal.
2. Remove the left side wheel guard.
3. Remove the external buzzer (A) after disconnecting the connector.





Door Outside Handle
1. Disconnect the negative (-) battery terminal.
2. Disconnect the connector after removing the door trim.
3. Loosen the mounting bolt, then remove the door handle cover and door lock (A).




4. Remove the outside handle (A) by sliding it rearward.




5. Disconnect the door outside handle connector (A).





Trunk lid open switch
1. Disconnect the negative(-) battery terminal.
2. Remove the trunk door trim.

3. Remove the trunk lid panel after disconnecting the connector and loosening the mounting screws.

4. Disconnect the trunk lid open switch connector (A).




5. Remove the outside handle (A) from the trunk garnish after loosening the trunk outside handle mounting screws.






Installation

Smart Key Unit
1. Install the smart key unit.
2. Install the smart key unit mounting nuts and screw and connector.
3. Install the glove box housing.
4. Install the glove box.
5. Install the negative (-) battery terminal and check the smart key system.

RF Receiver
1. Install the RF receiver.
2. Install the glove box housing.
3. Install the glove box.
4. Install the negative (-) battery terminal and check the smart key system.

Interior 1 Antenna
1. Install the interior 1 antenna.
2. Install the crash pad center lower tray.
3. Install the center fascia panel.
4. Install the crash pad garnish.
5. Install the negative (-) battery terminal and check the smart key system.

Interior 2 Antenna
1. Install the interior 2 antenna.
2. Install the console rear cover after connecting the connector.
3. Install the negative (-) battery terminal and check the smart key system.

Trunk Antenna
1. Install the trunk antenna.
2. Install the trunk transverse trim.
3. Install the negative (-) battery terminal and check the smart key system.

Exterior Bumper Antenna
1. Install the exterior bumper antenna.
2. Install the rear bumper.
3. Install the negative (-) battery terminal and check the smart key system.

Buzzer
1. Install the buzzer.
2. Install the left side wheel guard.
3. Install the negative (-) battery terminal and check the smart key system.

Trunk Lid Open Switch
1. Install the trunk lid outside handle.
2. Install the trunk lid panel.
3. Install the trunk door trim.
4. Install the negative (-) battery terminal and check the smart key system.

Door Outside Handle
1. Install the outside handle.
2. Install the door trim.
3. Install the negative (-) battery terminal and check the smart key system.