LEMON Manuals: Even more car manuals for everyone: 1960-2025
Home >> Hyundai >> 2013 >> Azera V6-3.3L >> Repair and Diagnosis >> Starting and Charging >> Starting System >> Keyless Starting System >> Description and Operation >> Smart Key System
April 5, 2026: LEMON Manuals is launched! Read the announcement.

Smart Key System





Description

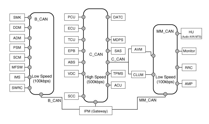
Communication network diagram









The SMART KEY system is a system that allows the user to access and operate a vehicle in a very convenient way. To access the vehicle, no traditional key or remote control unit is needed.
The user carries a SMART KEY FOB which does not require any conscious actions by the user (e.g. operate a RKE button). The SMART KEY system is triggered by pressing a push button in the door handle.
After being triggered the vehicle sends out a request in a limited range. If the SMART KEY FOB receives this request, it automatically sends a response to the vehicle. Then the system decides whether to perform a particular action (unlocking, locking.) or remain inactive.
In a similar manner the vehicle's Electrical Steering Column Lock (ESCL) is released. Again, a communication between the vehicle and the SMART KEY FOB is needed before any actions will be performed.

The System offers the following features :
- Passive unlock via door driver side and passenger side
- Passive locking via door driver side and passenger side
- Passive start
- Passive access trunk via the trunk lid switch at the trunk
- Passive locking via tailgate
- Max. 2 fobs can be handled by the system
- Immobilizer backup antenna driver integrated into FOB-HOLDER for TP authentication (i.e. limp home mode)
- Communication with engine management system
- Communication with SRX
- LF-RF communication

1. Passive unlock
The system allows the user to access (unlock) the vehicle without performing any actions with the SMART KEY FOB. This feature could be different depending on platform as follows:
A. Pressing Push button in door handle
2. Passive locking
The system allows the user to lock the vehicle by pushing a button on door handle with the SMART KEY FOB.
3. Button start
The system allows the user to release ESCL and to switch the power modes (Off, Accessory, Ignition), as well as to start and stop the vehicle's engine without performing any actions with the SMART KEY FOB. See Button Engine Start system specification.
4. LIMP HOME Mode
Additionally, the system offers so called "limp home mode", which is the user can operate all vehicle functions by inserting the key into the FOB HOLDER.

Smart Key ECU (SMK ECU)
The SMK ECU manages all functions related to "Passive Unlock", "Passive Lock" and "Passive Authorization for Engine Start Operation".
It reads the inputs (Push button in door handle, Start Stop Button (SSB), PARK position Switch), controls the outputs (e.g. exterior and interior antennas), and communicates via the CAN/LIN (depends on the vehicle) as well as a single line interface to further devices of the car.
It reads the inputs (Push button in door handle, Start Stop Button (SSB), PARK position Switch), controls the outputs (e.g. exterior and interior antennas), and communicates via the CAN as well as a single line interface to further devices of the car.
For communication with the SMART KEY FOB, SMK ECU generates a request (challenge) as an encoded and modulated 125 kHz signal at the inductive antenna outputs and receives the SMART KEY FOB's response via the external RF receiver.
The main functional blocks of the SMK ECU are:
- Power supply
- Microcontroller with FLASH Memory
- Single Line Interface to SRX
- Single Line Interface to EMS
- Input stage
- LF antenna amplifier/driver
- CAN communication with DDM
- LIN communication with other unit (depending on platform)
The LF antenna amplifier/driver generates a 125 kHz sinusoidal carrier signal which is distributed to the different antennas.

Smart Key FOB
The system supports up to 2 SMART KEY FOBs.
The main functions of the SMART KEY FOB are:
- Passive functionality: receives LF-challenge and sends automatically RF response.
- Classic RKE function by action up to 6 push buttons.
- Transponder-functionality in case of a flat battery or a disturbed communication.
- LED for operation feedback and battery monitoring.

NOTE:
The FOB's LED indicator may continue to light even with a low transmitter battery.
If the performance or range of the FOB is less than expected, check the transmitter battery.

Antennas
1. Emitting LF Antennas:
Inductive antennas in and at the vehicle are used to transform the current, driven by the SMK ECU antenna driver, into a 125 kHz magnetic field, which is the carrier for the SMART KEY challenge.
Three antennas cover the vehicle's exterior: two antennas in the Door Handles (DS and PS) cover the area around the doors; one antenna in the rear bumper covers the area around the trunk.
Two antennas cover the vehicle's exterior: two antennas in the Door Handles (DS and PS) cover the area around the doors.
Up to three antennas cover the vehicle's interior and the trunk interior: two in the passenger compartment and one in the trunk.
2. Bidirectional Immobilizer Antenna (for Limp Home):
The Immobilizer Backup Antenna is used for sending and receiving data: it emits a magnetic field (125 - 135 kHz challenge) and receives changes in the field strength (response of Transponder).
3. External Receiver
The SMART KEY FOB's response is received via the external RF receiver, which is connected to the SMK ECU via a serial communication Line.
The SMK ECU provides a connector pin for the serial communication Line.

Door Handle
The front door handles of the two doors (driver door / passenger door) are equipped with emitting LF-antennas to emit the 125 kHz signals. The front door handles are also equipped with a push button.

Push Button
The push button in door handle serves as a trigger to indicate the user's intent to unlock or lock the vehicle.
The push buttons are installed at front doors, integrated into the door handles.
Another button is installed at the trunk lid.

Operation

Passive Functions
The system allows the user to access the vehicle without having to perform any actions (e.g. RKE button pressing) with the SMART KEY FOB. It is sufficient that a valid SMART KEY FOB is located within a defined and limited range with respect to the vehicle. So the system is capable of detecting and authenticating a SMART KEY FOB in the ranges as specified below.
Operating Range
The SMART KEY FOB receives and interprets a challenge sent from the vehicle via the exterior antennas in a free space range of min. 0.7m measured around the exterior antennas which are integrated in the door handles; refer to the below given picture. The trunk access range is also min. 0.7m measured from the antenna position.
The SMART KEY FOB receives and interprets a challenge sent from the vehicle via the exterior antennas in a free space range of min. 0.7m measured around the exterior antennas which are integrated in the door handles; refer to the below given picture

Passive Access (Passive Entry)
Pressing one of the push buttons in the door handles when all doors locked indicates the operator's intent to access the vehicle and thus triggers the system for unlock

Passive Locking (Exit)
Pressing one of the push buttons in the door handles when one of the following condition is fulfilled:
- At least one door is unlocked and two_steps timer is not running or
- Two_steps timer is running and one of the push button except Front Left side is triggered
indicates the operator's intent to lock the vehicle and thus triggers the system for a lock.

Passive Open Tailgate
Pressing the Trunk Lid Switch when trunk is closed indicates the operator's intent to open the trunk and thus triggers the system. Subsequently, the SMK ECU sends a LF-challenge to the SMART KEY FOB via the exterior bumper antenna. The SMART KEY FOB answers with a RF-response. If the received response matches the expected answer, SMK ECU sends a "trunk open" message via the CAN network.

Passive Trunk Warning
Whenever the trunk is closed, SMK ECU uses a suitable search strategy to avoid trunk buzzer warning by a fob outside the vehicle. Then SMK searches for a SMART KEY FOB in the interior of the trunk. If a valid SMART KEY FOB is found in the trunk, the SMK ECU activates SMK external buzzer (TBD) to inform the user that the trunk has been closed with a fob inside the trunk.
SMK will send the trunk open command to BCM for trunk reopening if trunk reopening bit is set for this functionality, a "valid" SMART KEY FOB means any SMART KEY FOB that belongs to the vehicle, even if it's DEACTIVATED.

NOTE:
- A blind spot in the trunk similar to any RF disturbance may lead to no trunk warning. Due to the penetration of the bumper antenna into the trunk area the lid may open without an Identification Device outside.
- A blind spot in the trunk similar to any RF disturbance may lead to no trunk warning

Smart Key Reminder 1
1. Preconditions:
All terminals OFF & at least one door open & locking status is not locked checked by SMK periodically every 100ms, as long as CAN/LIN active.
2. Event:
At least 1 door knob status changed from unlock to lock.
3. SMK actions:
A. IF NO FOB-IN ACTIVE
SMK performs a search for the fobs in the interior of the vehicle. The same LF-strategy has to be used as it is defined for the ID out warning (registering only, no authentication
B. IF FOB-IN ACTIVE
SMK search valid TP
If no fob or no TP has been found, no action is required.
If any valid fob or valid TP has been found, SMK unlocks the vehicle by sending a CAN Key Reminder unlock message with the fob number.
If any valid fob has been found, SMK unlocks the vehicle by sending a CAN/LIN Key Reminder unlock message with the fob number.

Smart Key Reminder 2
1. Preconditions:
All terminals OFF & any door (including trunk) open & no FOB-IN & no locking status (checked by SMK periodically every 100ms, as long as CAN/LIN active)
2. Vehicle action:
Closing last door or trunk with knobs locked state, or with a locking in progress
3. SMK actions:
Before elapsing 500ms after the closing if all doors are locked then:
A. IF NO FOB-IN ACTIVE
SMK performs a search for the fobs in the interior of the vehicle.
The same LF-strategy has to be used as it is defined for the ID out warning (registering only, no authentication)
B. IF FOB-IN ACTIVE
SMK search valid TP
If no fob has been found, no action is required.
If any valid fob or valid TP has been found, SMK sends unlock command via CAN and activates ext. buzzer warning.
If any valid fob has been found, SMK sends unlock command via CAN/LIN and activates ext. buzzer warning.

Smart Key Door Lock Warning

Door Lock Warning 1
1. Preconditions:
While (at least one door knob is unlocked) & (ACC ON or IGN ON) & (No FOB-IN) :
A. (All doors are closed) & (trunk closed)
2. Event:
A. User presses the push button in door handle or trunk
3. SMK actions:
SMK performs a search for the fobs outside of the vehicle; the same LF-strategy has to be used as it is defined for "Scenario Access with I/O Distinction".

Door Lock Warning 2
1. Preconditions:
Same as passive locking precondition but with at least one door open.
2. Event:
User presses the door handle Push button.
3. SMK actions:
SMK performs a search for the fobs outside of the vehicle; the same LF-strategy has to be used as it is defined for "Scenario Access with I/O Distinction".
If no fob has been found, no action is required.
If the preconditions are no longer valid during buzzer active time (3 seconds), the SMK ECU stops the buzzer immediately.

Door Lock Warning 3
1. Preconditions:
Same as passive locking precondition
2. User action:
A. User presses the door handle Push button
3. SMK ECU actions:
A. If ATWS(Anti Theft Warning System) is in DISARM status, SMK ECU performs a search for the fob inside of the vehicle (use "Door Lock Warning 3" scenario)
If no fob has been found, the passive locking is performed.
If any valid fob has been found, SMK ECU activates the external buzzer.
If the activity timer elapsed or ACC ON or IGN1 ON or NOT All door closed or FOB-IN, the SMK ECU stops the buzzer immediately.
After searching of inside fob, SMK ECU also performs a search for fobs outside of the vehicle.

Smart Key Lamp Warning
1. SMK actions:
As long as the preconditions are valid, the SMK ECU performs a periodical search for the fobs in the interior of the vehicle; the same LF-strategy has to be used as it is defined for the ID out warning (registering only, no authentication); periodical means, the search is done every 3 seconds.
If no fob has been found, the SMK ECU starts Key out indicator lamp activation as all preconditions are valid and will perform another search 3 seconds later.
If any valid fob has been found, the SMK ECU stops the Key out indicator lamp and will (if one door is open) perform another search 3 seconds later; if no door is open then it's only at the next When the preconditions are still valid, the search resumes by opening of one door.

Failsafe Functions (Backup For Limp Home)
In case of a discharged battery of the SMART KEY FOB or disturbed transmission, the following functions are available:
- Unlocking / locking of doors or trunk (or tailgate depending of the vehicle configuration): use of mechanical key

User Information Functions
ID OUT Warning
1. Preconditions:
A. (ACC or IGN1) & (any door open or trunk open)
2. Event:
The last opened door is closed
3. SMK action:
SMK searches for a SMART KEY FOB in the interior.
A. If no valid SMART KEY FOB is found, the SMK activates external buzzer and also sends ID OUT warning via CAN (exterior buzzer warning and internal buzzer warning).
B. If a door is opened and closed again during terminals on and inside valid fob, SMK re-enables the authentication and stops the warning. If the terminal is in ACC, SMK shall turn on immobilizer lamp.

NOTE:
If there is a LF error (LF overheating or LF antenna failure), the system will have the same behavior as it is with no fob found.

Immobilizer Lamp
Removing the PIF from the MSL and reinserting the PIF and pushing the MSL Knob will switch the lamp on again.

Fob Battery Low Voltage Detection
To detect fob low battery condition, certain battery voltage measurement and low voltage detection strategy are implemented into fob. The measurement of the battery voltage will be done if fob button is pressed or if a LF measurement command is received.
If the fob has detected a low battery voltage, the LED will not be switched on at button press.

Learning Description
In this chapter, the learning procedure for SMK, ESCL and FOBs is described.
For the learning of the SMK, ESCL and FOBs, it's necessary to have a connection to the diagnostic tool.

Learning MODE
Whatever the mode, the learning procedures are managed by the SMK.
Prior to start learning service, Fob-In signal must be active and the vehicle secret code (called as PIN code) should be known.

Teaching MODE
This mode is used by the dealers in order to replace SMK and/or ESCL and/or the set of keys, or to register additional keys for an existing system. That means the system already has been learnt with certain PIN Code. The PIN Code is fixed for the life time of the vehicle, therefore the same PIN Code must be used in this mode. Otherwise learning will be failed

Teaching MODE Procedure Description (Step By Step)
Objective: Key teaching procedure at service station
Initial state:
- SMK replacement: SMK is not learnt, ESCL and SMART FOB are already learnt with same PIN code
- ESCL replacement: ESCL is not learnt, SMK and SMART FOB are already learnt with same PIN code
- Additional or new keys teaching: SMK and ESCL are already learnt with same PIN code





Starting After Replacing (Virgin Start)
Starting is possible by following process after replacing new smart key unit, FOB key or ESCL.
- It is for starting at virgin condition
- All related parts are virgin condition (Smart key, DDM, ESCL ECM)
- ESCL is always unlock at virgin
- Press brake pedal in P or N range
- Push the start button once with virgin smart key.