LEMON Manuals: Even more car manuals for everyone: 1960-2025
Home >> Hyundai >> 2013 >> Elantra Limited >> Repair and Diagnosis (Single Page) >> Accessories & Equipment >> Communication Devices >> Body Control Module (BCM) >> Description and Operation >> Function >> Key Interlock Control >> Data Flow
April 5, 2026: LEMON Manuals is launched! Read the announcement.

Data Flow

Fig 1: Key Interlock Control Communication Diagram
G10244019Courtesy of HYUNDAI MOTOR AMERICA
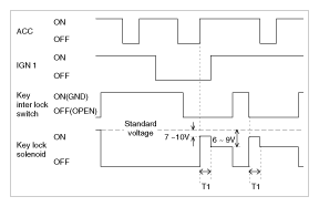
  1. Key solenoid to the output of the ON KEY to make the subject does not fall. (If IGN1 ON or ACC subject to the key Interlock switch input is OFF.)
  2. In addition to the above conditions, the KEY OFF key solenoid output to fall out, to make conditions.
  3. Key solenoid output OFF -> ON operation, 0.9sec ~ 1.5sec for the 7 - 10V and the behavior, then the voltage 6 - 9V to maintain.
    Fig 2: Key Interlock Control - Blinking Pattern (T1: 0.9 ~ 1.5Sec)
    G10244020Courtesy of HYUNDAI MOTOR AMERICA

    T1: 0.9 ~ 1.5sec