LEMON Manuals: Even more car manuals for everyone: 1960-2025
Home >> Hyundai >> 2013 >> Genesis Coupe 3.8 Track, Automatic Trans >> Repair and Diagnosis >> Engine Performance >> Engine Control Systems >> Engine Control System - 3.8L >> CVVT Oil Control Valve (OCV) >> Schematic Diagrams >> Circuit Diagram
April 5, 2026: LEMON Manuals is launched! Read the announcement.

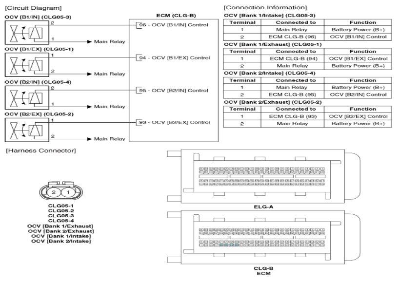
Circuit Diagram

Fig 1: CVVT Oil Control Valve (OCV) Circuit Diagram
G00540487Courtesy of HYUNDAI MOTOR CO.