LEMON Manuals: Even more car manuals for everyone: 1960-2025
Home >> Hyundai >> 2013 >> Santa Fe AWD L4-2.4L >> Repair and Diagnosis >> Relays and Modules >> Relays and Modules - Lighting and Horns >> Headlamp Alignment Control Module >> Diagrams
April 5, 2026: LEMON Manuals is launched! Read the announcement.

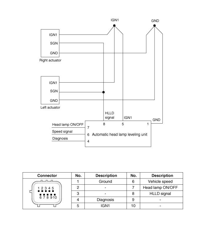
Headlamp Alignment Control Module: Diagrams





Circuit Diagram