LEMON Manuals: Even more car manuals for everyone: 1960-2025
Home >> Hyundai >> 2013 >> Tucson FWD L4-2.4L >> Repair and Diagnosis >> Starting and Charging >> Starting System >> Keyless Starting System >> Service and Repair >> Button Engine Start System >> Fob Holder >> Repair Procedures
April 5, 2026: LEMON Manuals is launched! Read the announcement.

Repair Procedures





Removal

1. Disconnect the negative(-) battery terminal.
2. Remove the floor console.

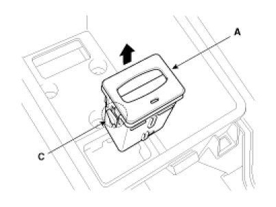
3. Disconnect the connector (B), then remove the fob holder assembly (A) after releasing the hook (C).










Installation

1. Install the fob holder assembly.
2. Install the floor console.
3. Install the negative(-) battery terminal.