LEMON Manuals: Even more car manuals for everyone: 1960-2025
Home >> Hyundai >> 2014 >> Elantra Coupe Automatic Trans >> Repair and Diagnosis >> Electrical >> Starter >> Button Engine Start System >> Start/Stop Button >> Repair procedures >> Removal
April 5, 2026: LEMON Manuals is launched! Read the announcement.

Repair procedures: Removal

  1. Disconnect the negative (-) battery terminal.
  2. Remove the crash pad lower panel (A).
    Fig 1: Crash Pad Lower Panel
    G10254999Courtesy of HYUNDAI MOTOR AMERICA
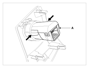
  3. Disconnect the start/stop button connector (A).
    Fig 2: Start/Stop Button Connector
    G10255000Courtesy of HYUNDAI MOTOR AMERICA
  4. Remove the start/stop button (A) after pushing clips.
    Fig 3: Removing Start/Stop Button
    G10255001Courtesy of HYUNDAI MOTOR AMERICA