LEMON Manuals: Even more car manuals for everyone: 1960-2025
Home >> Hyundai >> 2014 >> Elantra Coupe Automatic Trans >> Repair and Diagnosis >> Transmission >> Automatic Trans >> Automatic Transaxle Control System >> Transaxle Control Module (TCM) >> Schematic Diagrams >> Circuit Diagram
April 5, 2026: LEMON Manuals is launched! Read the announcement.

Circuit Diagram

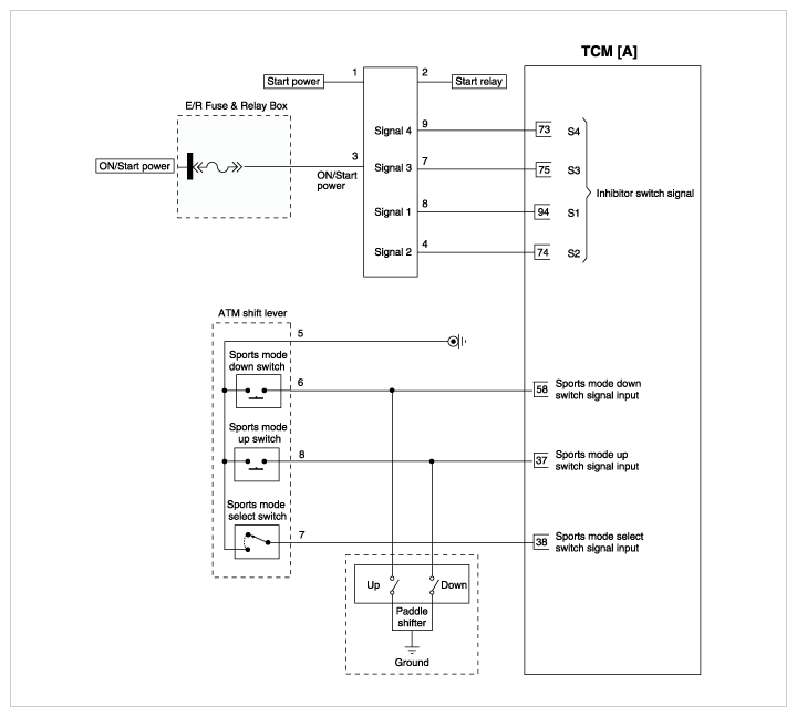
Fig 1: Transaxle Control Module Circuit Diagram (1 Of 2)
G10255936Courtesy of HYUNDAI MOTOR AMERICA
Fig 2: Transaxle Control Module Circuit Diagram (2 Of 2)
G10255937Courtesy of HYUNDAI MOTOR AMERICA