LEMON Manuals: Even more car manuals for everyone: 1960-2025
Home >> Hyundai >> 2014 >> Equus Ultimate >> Repair and Diagnosis (Single Page) >> Engine Performance >> Engine Control Systems >> Engine Control/Fuel System - General Information >> Basic Troubleshooting >> Connector Inspection Procedure >> Notes
April 5, 2026: LEMON Manuals is launched! Read the announcement.

Connector Inspection Procedure: Notes

  1. Handling of Connector
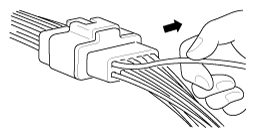
    1. Never pull on the wiring harness when disconnecting connectors.
      Fig 1: Caution For Handling Connector
      G09789310Courtesy of HYUNDAI MOTOR AMERICA
    2. When removing the connector with a lock, press or pull locking lever.
      Fig 2: Removing Connector
      G09789311Courtesy of HYUNDAI MOTOR AMERICA
    3. Listen for a click when locking connectors. This sound indicates that they are securely locked.
      Fig 3: Locking Connector
      G09789312Courtesy of HYUNDAI MOTOR AMERICA
    4. When a tester is used to check for continuity, or to measure voltage, always insert tester probe from wire harness side.
      Fig 4: Caution For Inserting Tester Probe
      G09789313Courtesy of HYUNDAI MOTOR AMERICA
    5. Check waterproof connector terminals from the connector side. Waterproof connectors cannot be accessed from harness side.
      Fig 5: Caution For Checking Waterproof Connectors
      G09789314Courtesy of HYUNDAI MOTOR AMERICA
      NOTE:
      • Use a fine wire to prevent damage to the terminal.
      • Do not damage the terminal when inserting the tester lead.
  2. Checking Point for Connector
    1. While the connector is connected:

      Hold the connector, check connecting condition and locking efficiency.

    2. When the connector is disconnected:

      Check missed terminal, crimped terminal or broken core wire by slightly pulling the wire harness.

      Visually check for rust, contamination, deformation and bend.

    3. Check terminal tightening condition:

      Insert a spare male terminal into a female terminal, and then check terminal tightening conditions.

    4. Pull lightly on individual wires to ensure that each wire is secured in the terminal.
      Fig 6: Checking Point For Connector
      G09789315Courtesy of HYUNDAI MOTOR AMERICA
  3. Repair Method of Connector Terminal
    1. Clean the contact points using air gun and/or shop rag.
      NOTE: Never use sand paper when polishing the contact points, otherwise the contact point may be damaged.
    2. In case of abnormal contact pressure, replace the female terminal.