LEMON Manuals: Even more car manuals for everyone: 1960-2025
Home >> Hyundai >> 2014 >> Santa Fe XL Base >> Repair and Diagnosis >> Transmission >> Automatic Trans >> Automatic Transaxle Control System >> Transaxle Control Module (TCM) >> Repair Procedures >> Removal
April 5, 2026: LEMON Manuals is launched! Read the announcement.

Repair Procedures: Removal

CAUTION: When installing a used TCM on a vehicle with immobilizer, the following procedure must be performed.

[In the case of installing used TCM] 

  1. Perform "TCM Neutral mode" procedure with GDS.

    (Refer to Body Electrical System - "Immobilizer System")

  2. After finishing "TCM Neutral mode", perform "Key teaching" procedure with GDS.

    (Refer to Body Electrical System - "Immobilizer System")

[In the case of installing new TCM] 

Perform "Key teaching" procedure with GDS.

(Refer to Body Electrical System - "Immobilizer System")

CAUTION: When replacing the TCM on a vehicle equipped with the smart key system (Button Start), the following procedure must be performed.

[In the case of installing used TCM] 

  1. Perform "TCM Neutral mode" procedure with GDS.

    (Refer to Body Electrical System - "Immobilizer System")

  2. After finishing "TCM Neutral mode", insert the key (or press the start button) and turn it to the IGN ON and OFF position. Then the TCM learns the smart key information automatically.

[In the case of installing new TCM] 

Insert the key (or press the start button) and turn it to the IGN ON and OFF position. Then the TCM learns the smart key information automatically.

  1. Turn ignition switch OFF and disconnect the negative (-) battery cable.
  2. Disconnect the TCM Connector (A).
    Fig 1: Identifying TCM Connector
    G09270853Courtesy of HYUNDAI MOTOR AMERICA
  3. Remove the battery.

    Refer to BATTERY .

  4. Remove the air cleaner assembly.

    Refer to "AIR CLEANER .

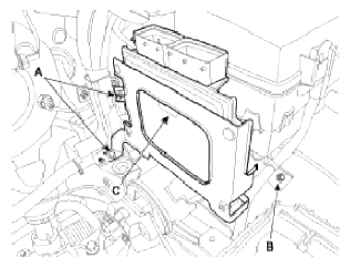
  5. Remove the mounting bolts (A) and nut (B), and then remove the TCM (C).
    Fig 2: Identifying TCM And Mounting Bolt
    G09270854Courtesy of HYUNDAI MOTOR AMERICA
  6. After removing the installation nuts (A) and screws (B), remove the TCM (C) from the bracket.
    Fig 3: Identifying TCM And Mounting Bolt
    G09270855Courtesy of HYUNDAI MOTOR AMERICA