LEMON Manuals: Even more car manuals for everyone: 1960-2025
Home >> Hyundai >> 2015 >> Accent GLS, Automatic Trans >> Repair and Diagnosis >> Transmission >> Transmission Control Systems >> Automatic Transaxle Control System >> Shift Lever >> Repair procedures >> Removal >> Shift Lock Cable Replacement
April 5, 2026: LEMON Manuals is launched! Read the announcement.

Shift Lock Cable Replacement

  1. Remove the center console.

    (Refer to "INTERIOR (CONSOLE) ")

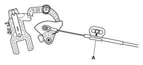
  2. Remove the shift lock cable (A).

    Tightening torque: 

    8.8 ~ 13.7 N.m (0.9 ~ 1.4 kgf.m, 6.5 ~ 10.1 lb-ft)

    Fig 1: Shift Lock Cable
    G10362761Courtesy of HYUNDAI MOTOR AMERICA
  3. Remove the shift lock cable (B) from the brake pedal (A).
    Fig 2: Shift Lock Cable And Brake Pedal
    G10362762Courtesy of HYUNDAI MOTOR AMERICA
  4. Installation is the reverse of removal.
    NOTE: Shift lock cable must not have any bending.