LEMON Manuals: Even more car manuals for everyone: 1960-2025
Home >> Hyundai >> 2015 >> Azera Base >> Repair and Diagnosis (Single Page) >> Accessories & Equipment >> Communication Devices >> Body Control Module (BCM) >> Description and Operation >> Function >> Power Window Control
April 5, 2026: LEMON Manuals is launched! Read the announcement.

Power Window Control

This IPM Power Window describes the following functions

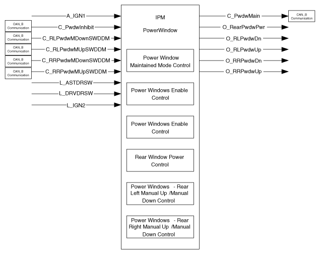
Fig 1: Power Window Control Communication Diagram
G10368871Courtesy of HYUNDAI MOTOR AMERICA
Function Characteristics Name
Signal Label Spec. Designation
Input Logic L_ASTDRSW Assistant Door Switch Status
L_DRVDRSW Driver Door Switch status
L_IGN2 Ignition 2 Signal
Analog A_IGN1 Ignition 1 Signal
CAN_B Communication C_PwdwInhibit Power Window Inhibit command from DDM
C_RLPwdwMDownSWDDM Rear Left Power Window Manual Down Indirect Switch from DDM
C_RLPwdwMUpSWDDM Rear Left Power Window Manual Up Indirect Switch from DDM
C_RRPwdwMDownSWDDM Rear Right Power Window Manual Down Indirect Switch from DDM
C_RRPwdwMUpSWDDM Rear Right Power Window Manual Up Indirect Switch from DDM
Output Logic O_RearPwdwPwr Rear Power Window Power State
O_RLPwdwDn Rear Left Power Window Down
O_RLPwdwUp Rear Left Power Window Up
O_RRPwdwDn Rear Right Power Window Down
O_RRPwdwUp Rear Right Power Window Up
CAN_B Communication C_PwdwMain Power Window Timer