LEMON Manuals: Even more car manuals for everyone: 1960-2025
Home >> Hyundai >> 2015 >> Tucson GLS, FWD >> Repair and Diagnosis >> Engine Performance >> Engine Control Systems >> Engine Control System - 2.0L >> Injector >> Schematic Diagrams >> Circuit Diagram
April 5, 2026: LEMON Manuals is launched! Read the announcement.

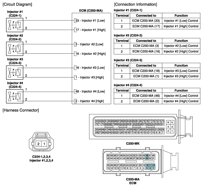
Circuit Diagram

(M/T) 

Fig 1: Injector Circuit Diagram (M/T)
G10611524Courtesy of HYUNDAI MOTOR AMERICA

(A/T) 

Fig 2: Injector Circuit Diagram (A/T)
G10611525Courtesy of HYUNDAI MOTOR AMERICA