LEMON Manuals: Even more car manuals for everyone: 1960-2025
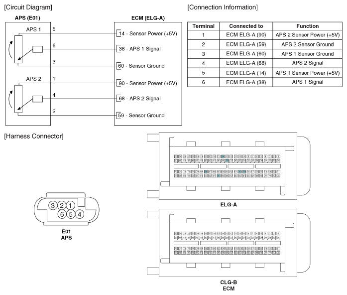
Home >> Hyundai >> 2016 >> Genesis Coupe 3.8, Automatic Trans >> Repair and Diagnosis >> Engine Performance >> Engine Control Systems >> Engine Control System - 3.8L >> Accelerator Position Sensor (APS) >> Schematic Diagrams >> Circuit Diagram
April 5, 2026: LEMON Manuals is launched! Read the announcement.

Circuit Diagram

Fig 1: Accelerator Position Sensor Schematic Diagram
G10493836Courtesy of HYUNDAI MOTOR AMERICA