LEMON Manuals: Even more car manuals for everyone: 1960-2025
Home >> Hyundai >> 2016 >> Tucson SE, FWD >> Repair and Diagnosis >> Engine Performance >> Engine Control Systems >> Engine Control/Fuel System - General Information - 2.0L >> Engine Control/Fuel System >> Troubleshooting >> Basic Troubleshooting >> Connector Inspection Procedure
April 5, 2026: LEMON Manuals is launched! Read the announcement.

Connector Inspection Procedure

  1. Handling of Connector
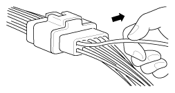
    1. Never pull on the wiring harness when disconnecting connectors.
      Fig 1: Caution For Handling Of Connector
      G11643605Courtesy of HYUNDAI MOTOR AMERICA
    2. When removing the connector with a lock, press or pull locking lever.
      Fig 2: Illustration For Removing Connector
      G11643606Courtesy of HYUNDAI MOTOR AMERICA
    3. Listen for a click when locking connectors. This sound indicates that they are securely locked.
      Fig 3: Locking Connectors With Click Sound
      G11643607Courtesy of HYUNDAI MOTOR AMERICA
    4. When a tester is used to check for continuity, or to measure voltage, always insert tester probe from wire harness side.
      Fig 4: Caution For Inserting Tester Probe For Checking Continuity
      G11643608Courtesy of HYUNDAI MOTOR AMERICA
    5. Check waterproof connector terminals from the connector side. Waterproof connectors cannot be accessed from harness side.
      Fig 5: Caution For Checking Waterproof Connector Terminals
      G11643609Courtesy of HYUNDAI MOTOR AMERICA
      NOTE:
      • Use a fine wire to prevent damage to the terminal.
      • Do not damage the terminal when inserting the tester lead.
  2. Checking Point for Connector
    1. While the connector is connected: Hold the connector, check connecting condition and locking efficiency.
    2. When the connector is disconnected: Check missed terminal, crimped terminal or broken core wire by slightly pulling the wire harness. Visually check for rust, contamination, deformation and bend.
    3. Check terminal tightening condition: Insert a spare male terminal into a female terminal, and then check terminal tightening conditions.
    4. Pull lightly on individual wires to ensure that each wire is secured in the terminal.
      Fig 6: Checking Connector Wires For Looseness
      G11643610Courtesy of HYUNDAI MOTOR AMERICA
  3. Remedy Method of Connector Terminal
    1. Clean the contact points using air gun and/or shop rag.
      NOTE: Never use sand paper when polishing the contact points, otherwise the contact point may be damaged.
    2. In case of abnormal contact pressure, replace the female terminal.