LEMON Manuals: Even more car manuals for everyone: 1960-2025
Home >> Hyundai >> 2016 >> Veloster Turbo, Standard Trans >> Repair and Diagnosis >> Transmission >> Transmission Control Systems >> Manual Transaxle Control System - 1.6L T-GDI >> Control Cable >> Repair Procedures >> Adjustment >> Select Cable Adjustment
April 5, 2026: LEMON Manuals is launched! Read the announcement.

Select Cable Adjustment

  1. Remove the Select Cable Snap Pin (A) and then remove the Select Cable (B) from the Shift Lever Pin.
    Fig 1: Select Cable Snap Pin And Select Cable
    G10604740Courtesy of HYUNDAI MOTOR AMERICA
  2. Shift the Shift Lever to 3rd gear.
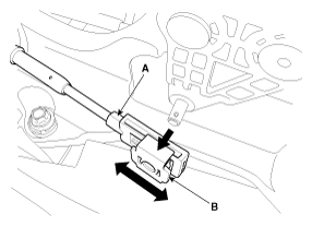
  3. Move the Slide Clip (B) of Guide Member (A) in the direction as shown in illustration.
    Fig 2: Moving Slide Clip Of Guide Member
    G10604741Courtesy of HYUNDAI MOTOR AMERICA
  4. Install the Select Cable (A).
    Fig 3: Installing Select Cable
    G10604742Courtesy of HYUNDAI MOTOR AMERICA
  5. Insert the Clip in the direction as shown in illustration and then install the Snap Pin (B).
    Fig 4: Inserting Clip And Installing Snap Pin
    G10604743Courtesy of HYUNDAI MOTOR AMERICA