LEMON Manuals: Even more car manuals for everyone: 1960-2025
Home >> Hyundai >> 2017 >> Azera Base >> Repair and Diagnosis >> Drivelines & Axles >> Wheel Hubs >> Front Axle Assembly >> Front Hub - Axle >> Repair Procedures >> Disassembly
April 5, 2026: LEMON Manuals is launched! Read the announcement.

Repair Procedures: Disassembly

  1. Remove the snap ring (A).
    Fig 1: Removing Snap Ring
    G12089239Courtesy of HYUNDAI MOTOR AMERICA
  2. Remove the hub assembly from the knuckle assembly.
    1. Install the front knuckle assembly (A) on press.
    2. Lay a suitable adapter (B) upon the hub assembly shaft.
    Fig 2: Installing Front Knuckle Assembly
    G12089240Courtesy of HYUNDAI MOTOR AMERICA
  3. Remove the hub bearing inner race from the hub assembly.
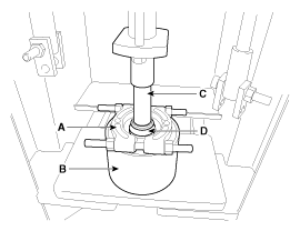
    1. Install a suitable tool (A) for removing the hub bearing inner race on the hub assembly.
    2. Lay the hub assembly and tool (A) upon a suitable adapter (B).
    3. Lay a suitable adapter (C) upon the hub assembly shaft.
    4. Remove the hub bearing inner race (D) from the hub assembly by using press.
    Fig 3: Removing Hub Bearing Inner Race From Hub Assembly
    G12089241Courtesy of HYUNDAI MOTOR AMERICA
  4. Remove the hub bearing outer race from the knuckle assembly.
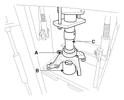
    1. Lay the hub assembly (A) upon a suitable adapter (B).
    2. Lay a suitable adapter (C) upon the hub bearing outer race.
    3. Remove the hub bearing outer race from the knuckle assembly by using press.
    Fig 4: Removing Hub Bearing Outer Race From Knuckle Assembly
    G12089242Courtesy of HYUNDAI MOTOR AMERICA
  5. Replace hub bearing with a new one.