LEMON Manuals: Even more car manuals for everyone: 1960-2025
Home >> Hyundai >> 2017 >> Sonata Plug-In Hybrid >> Repair and Diagnosis >> External Pages >> Different car >> Section 249 (Driveshaft Assembly) >> Dynamic Damper >> Repair Procedures >> Installation
April 5, 2026: LEMON Manuals is launched! Read the announcement.

Repair Procedures: Installation

WARNING: This page is about a different car, the 2017 Hyundai Santa Fe Sport. However, it is still accessible from the selected car via links, so may be relevant.
  1. Apply soap powder on the shaft to prevent being damaged between the shaft spline and the dynamic damper.
  2. Install the dynamic damper.
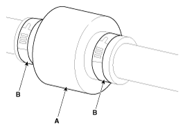
  3. Install the dynamic damper band (A).
  4. Using the SST (09495-3K000), secure the TJ boot bands (B).

    Clearance (A):  2.0 mm (0.0787 in.) or less

    Fig 1: Securing TJ Boot Bands
    G12055946Courtesy of HYUNDAI MOTOR AMERICA
  5. Install the TJ joint assembly.

    (Refer to Driveshaft Assembly - "TJ JOINT ")

  6. Install the front driveshaft.

    (Refer to Driveshaft Assembly - "FRONT DRIVESHAFT ")

  7. Check the front alignment.

    (Refer to Suspension System - "FRONT ALIGNMENT ")