LEMON Manuals: Even more car manuals for everyone: 1960-2025
Home >> Hyundai >> 2017 >> Veloster Turbo, Standard Trans >> Repair and Diagnosis >> Transmission >> Transmission Control Systems >> Manual Transaxle Control System - 1.6L T-GDI >> Control Cable >> Repair Procedures >> Adjustment >> Select cable adjustment
April 5, 2026: LEMON Manuals is launched! Read the announcement.

Select cable adjustment

  1. Remove the select cable snap pin (A) and then remove the select cable (B) from the shift lever pin.
    Fig 1: Removing Select Cable Snap Pin
    G12124984Courtesy of HYUNDAI MOTOR AMERICA
  2. Shift the shift lever to 3rd gear.
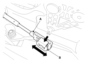
  3. Move the slide clip (B) of guide member (A) in the direction as shown in the illustration.
    Fig 2: Moving Slide Clip Of Guide Member In Direction
    G12124985Courtesy of HYUNDAI MOTOR AMERICA
  4. Install the select cable (A).
    Fig 3: Installing Select Cable
    G12124986Courtesy of HYUNDAI MOTOR AMERICA
  5. Insert the clip in the direction as shown in the illustration and then install the snap pin (B).
    Fig 4: Installing Snap Pin
    G12124987Courtesy of HYUNDAI MOTOR AMERICA