LEMON Manuals: Even more car manuals for everyone: 1960-2025
Home >> Hyundai >> 2019 >> Santa Fe SEL Plus, AWD >> Repair and Diagnosis >> Steering >> Steering Control Systems >> Steering Wheel >> Heated Steering Wheel >> Schematic Diagrams >> System Circuit Diagram >> Notes
April 5, 2026: LEMON Manuals is launched! Read the announcement.

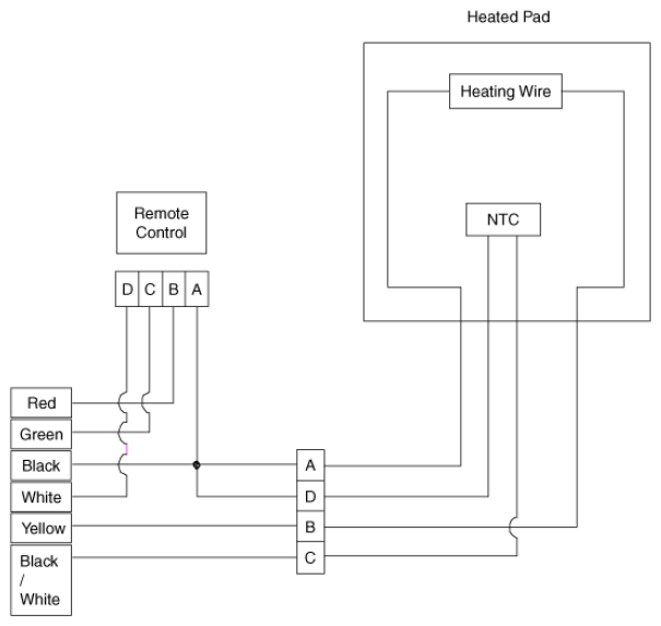
System Circuit Diagram: Notes

G12993593Courtesy of HYUNDAI MOTOR AMERICA
G12993594Courtesy of HYUNDAI MOTOR AMERICA