LEMON Manuals: Even more car manuals for everyone: 1960-2025
Home >> Hyundai >> 2020 >> Tucson Value, 4WD >> Repair and Diagnosis >> Transmission >> Transmission Control Systems >> Automatic Transaxle Control System - 2.0L >> Transaxle Control Module (TCM) >> Schematic Diagrams >> Circuit Diagram
April 5, 2026: LEMON Manuals is launched! Read the announcement.

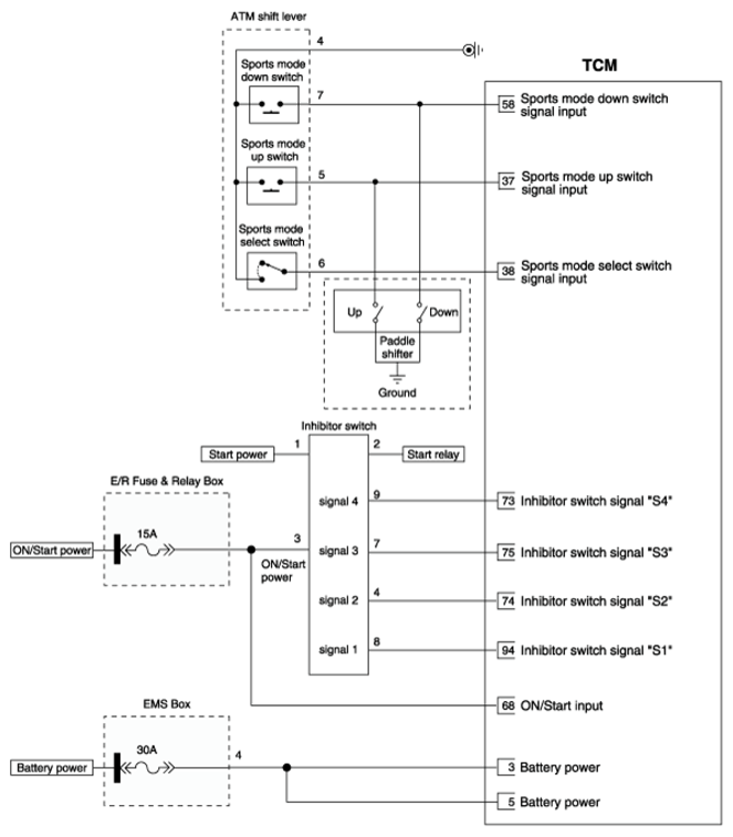
Circuit Diagram

G13021157Courtesy of HYUNDAI MOTOR AMERICA
G13021158Courtesy of HYUNDAI MOTOR AMERICA