LEMON Manuals: Even more car manuals for everyone: 1960-2025
Home >> Hyundai >> 2021 >> Palisade SEL, FWD >> Repair and Diagnosis >> Engine Performance >> Engine Control Systems >> Engine Control System >> Description & Operation >> OBD-II Review >> Configuration Of Hardware And Related Terms >> GST (Generic Scan Tool)
April 5, 2026: LEMON Manuals is launched! Read the announcement.

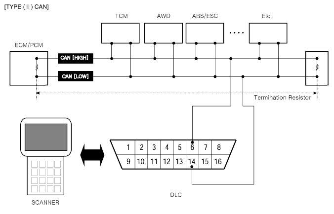
GST (Generic Scan Tool)

G14423795Courtesy of HYUNDAI MOTOR AMERICA