LEMON Manuals: Even more car manuals for everyone: 1960-2025
Home >> Infiniti >> 1992 >> Q45 Base >> Repair and Diagnosis >> Engine Performance >> System >> Engine Controls - Tests W/Codes >> Trouble Code Charts >> DTC 43 - Throttle Position Sensor
April 5, 2026: LEMON Manuals is launched! Read the announcement.

DTC 43 - Throttle Position Sensor

Fig 1: Code 43 Schematic - Throttle Position Sensor
G91D17387Courtesy of NISSAN MOTOR CO., U.S.A.
Fig 2: Code 43 Connector Location - Throttle Position Sensor
G91E17388Courtesy of NISSAN MOTOR CO., U.S.A.
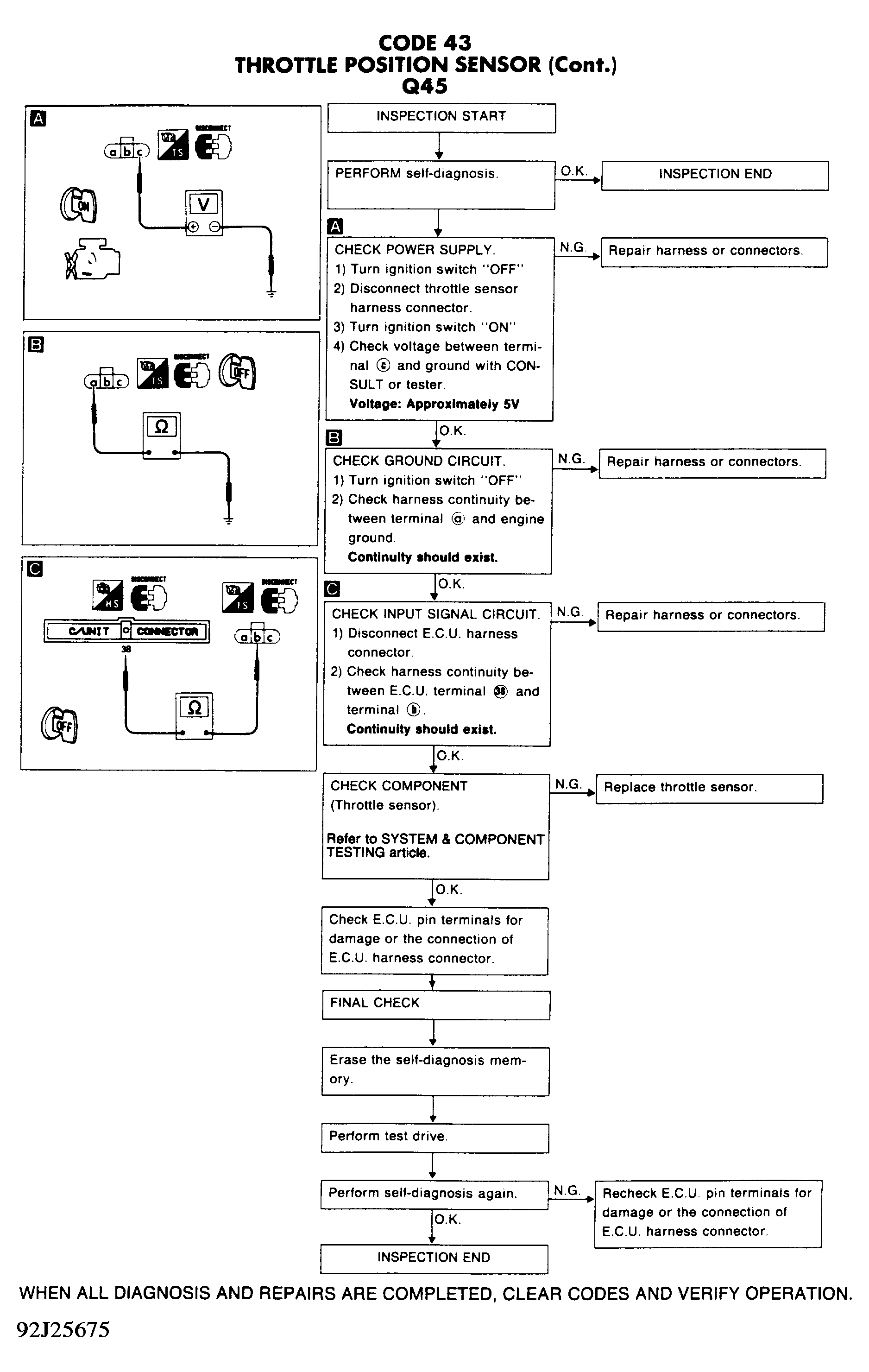
Fig 3: Code 43 Flow Chart - Throttle Position Sensor
G92J25675Courtesy of NISSAN MOTOR CO., U.S.A.