LEMON Manuals: Even more car manuals for everyone: 1960-2025
Home >> Infiniti >> 2000 >> I30 Base, RE4F04B >> Repair and Diagnosis >> Engine Performance >> System >> Engine Controls - Self-Diagnostics >> Diagnostic Tests >> DTC P1320: Ignition Signal >> Procedure
April 5, 2026: LEMON Manuals is launched! Read the announcement.

DTC P1320: Ignition Signal: Procedure

  1. Turn ignition off and restart engine. If engine starts, go to step  8. If engine does not start, leave ignition on. Measure voltage between ground and ECM terminals No. 110 and 112. See Figure and Figure . If battery voltage exists, go to next step. If battery voltage does not exist, repair power supply circuit. See ENGINE CONTROL MODULE (ECM) under COMPUTERIZED ENGINE CONTROLS in SYSTEM & COMPONENT TESTING article.
  2. Turn ignition off. Disconnect condenser harness connector. See Fig 1. Turn ignition on. Measure voltage between ground and condenser harness connector Red wire. If battery voltage exists, go to step  6. If battery voltage does not exist, go to next step.
  3. Turn ignition off. Disconnect ECM relay. See Fig 2. Check continuity of Red wire between ECM relay harness connector terminal No. 7 and condenser harness connector. See Figure. Also check circuit for short to ground and short to voltage. Repair as necessary and retest system. If circuit is okay, go to next step.
  4. Measure voltage between ground and ECM relay harness connector terminal No. 6 (Purple wire). If battery voltage exists, go to next step. If battery voltage does not exist, repair open or short circuit and retest system. See WIRING DIAGRAMS article.
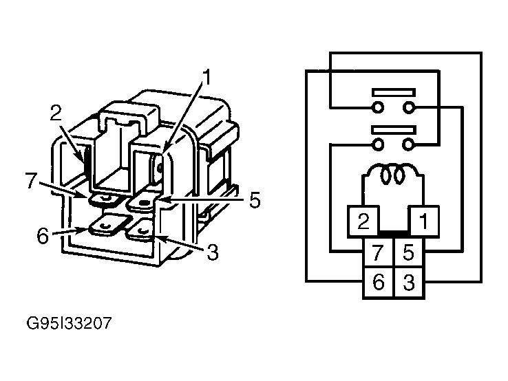
  5. Using jumper wires, apply battery voltage and ground to ECM relay terminals No. 1 and 2. See Figure. Check continuity between terminals No. 3 and 5. Also check continuity between terminals No. 6 and 7. Continuity should exist. Remove jumper wires. Continuity should not exist. If operation is as specified, go to step  12. If operation is not as specified, replace ECM relay and retest system.
  6. Turn ignition off. Check continuity between engine ground and condenser harness connector Black wire. Also check circuit for short to voltage. Repair as necessary and retest system. If ground circuit is okay, go to next step.
  7. Measure resistance between condenser terminals. Resistance should be more than one megohm at 77°F (25°C). If resistance is as specified, go to next step. If resistance is not as specified, replace condenser and retest system.
  8. Turn ignition off. Reconnect all harness connectors. Disconnect ignition coil harness connectors. Turn ignition on. Measure voltage between ground and each ignition coil harness connector terminal No. 3 (Red wire). If battery voltage exists, go to next step. If battery voltage does not exist, repair open or short between ignition coil harness connector and ECM relay. See WIRING DIAGRAMS article. Retest system.
  9. Turn ignition off. Check continuity between engine ground and each ignition coil harness connector terminal No. 2 (Black wire). Also check circuits for short to voltage. Repair as necessary and retest system. If ground circuits are okay, go to next step.
  10. Disconnect ECM harness connector. See Figure. Check continuity between each ignition coil harness connector terminal No. 1 and ECM harness connector. See IGNITION COIL/ECM CIRCUIT IDENTIFICATION  table. See Figure. Also check circuits for short to ground and short to voltage. Repair as necessary and retest system. If circuits are okay, go to next step.
  11. Measure resistance between ignition coil terminals No. 2 and 3. If resistance is zero ohms, replace ignition coil and retest system. If resistance is more than zero ohms, go to next step.
  12. No problem is indicated at this time. Problem may be intermittent. See TESTING PROCEDURE under SELF-DIAGNOSTIC SYSTEM in SELF-DIAGNOSTICS - INTRODUCTION article.
IGNITION COIL/ECM CIRCUIT IDENTIFICATION

Ignition Coil No. ECM Terminal No. Wire Color
1 21 Yellow/Red
2 22 Green/Red
3 23 Blue/Red
4 30 Gray
5 31 Purple/White
6 32 Gray/Red
Fig 1: Locating Condenser Harness Connector
G99B54826Courtesy of NISSAN MOTOR CO., U.S.A.
Fig 2: Locating ECM Relay
G99D54828Courtesy of NISSAN MOTOR CO., U.S.A.